○由利本荘市財務規則
平成17年3月22日
規則第40号
目次
第1章 総則(第1条―第6条)
第2章 予算
第1節 予算の編成(第7条―第13条)
第2節 予算の執行等(第14条―第25条)
第3章 収入
第1節 調定(第26条―第33条)
第2節 納入の通知(第34条・第35条)
第3節 収納(第36条―第41条の2)
第4節 収入の過誤(第42条―第46条)
第5節 収入未済金(第47条―第50条)
第6節 帳簿等の調製(第51条・第52条)
第4章 支出
第1節 支出負担行為(第53条―第56条)
第2節 支出命令(第57条―第60条)
第3節 支出の特例(第61条―第74条)
第4節 支払の方法(第75条―第81条)
第5節 小切手(第82条―第90条)
第6節 支払未済金(第91条・第92条)
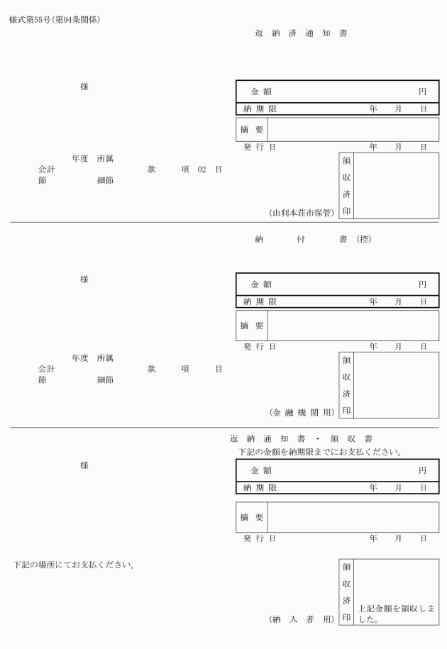
第7節 支出の訂正等(第93条・第94条)
第8節 帳簿等の調製(第95条―第97条)
第5章 決算(第98条―第100条)
第6章 契約
第1節 一般競争入札(第101条―第111条)
第2節 指名競争入札(第112条―第114条)
第3節 随意契約及び競り売り(第115条―第118条)
第4節 契約の締結(第119条―第128条)
第5節 契約の履行(第129条―第134条)
第6節 監督及び検査(第135条―第139条)
第7章 現金及び有価証券(第140条―第145条)
第8章 指定金融機関等
第1節 通則(第146条―第148条)
第2節 収納金(第149条―第154条)
第3節 支払(第155条―第162条)
第4節 公金振替(第163条)
第5節 帳簿等及び収支報告(第164条―第167条)
第6節 雑則(第168条―第172条)
第9章 財産
第1節 公有財産(第173条―第204条)
第2節 物品(第205条―第217条)
第3節 債権(第218条―第224条)
第4節 基金(第225条―第228条)
第10章 職員の賠償責任(第229条―第231条)
第11章 雑則(第232条―第237条)
附則
第1章 総則
(趣旨)
第1条 この規則は、地方自治法施行令(昭和22年政令第16号。以下「施行令」という。)第173条の2の規定に基づき、法令、条例又は他の規則に特別の定めがあるものを除くほか、市の財務に関して必要な事項を定めるものとする。
(1) 部長等 市長の事務部局の部長、総合支所長、教育次長、消防長、議会の事務局の長、委員会の事務局の長、委員の事務局の長及びこれらに相当する職にあるものをいう。
(2) 課長等 課所室長及びこれらに相当する職にあるものをいう。
(3) 収入決定権者 市長又は次条の規定により歳入の徴収事務を専決する権限を与えられた者をいう。
(4) 支出決定権者 市長又は次条の規定により支出負担行為及び支出の命令を専決する権限を与えられた者をいう。
(5) 契約権者 市長又は次条の規定により契約に関する事務を専決する権限を与えられた者をいう。
(6) 出納機関 会計管理者又はその委任を受けた出納員若しくは当該出納員の委任を受けたその他の会計職員をいう。
(7) 指定金融機関等 指定金融機関、指定代理金融機関及び収納代理金融機関をいう。
(8) 財産管理者 公有財産の管理に関する事務を所掌する課長等をいう。
(9) 物品管理者 物品の管理に関する事務を所掌する課長等をいう。
(10) 債権管理者 債権の管理に関する事務を所掌する課長等をいう。
(11) 基金管理者 基金の管理に関する事務を所掌する課長等をいう。
(12) 電子決裁 市長又は第3条の規定により専決することができる者が、財務会計システム上の電磁的記録により決裁し、合議し、及び回議することをいう。
(電子決裁)
第3条の2 財務に関する事務のうち、次の各号に掲げるものの決裁は、電子決裁により行うことができる。
(1) 歳入の調定
(2) 支出負担行為及び支出命令
(3) 歳出予算の流用
(4) 予備費の充用
(5) 歳出予算の配当替え
(6) 物品の管理
(7) その他市長が必要と認めた事務
2 前項の電子決裁による帳票については、電磁的記録による帳票を原本とする。
(合議)
第4条 部長等は、この規則に別段の定めがある場合を除くほか、次に掲げる事項については、財政担当部長に合議しなければならない。
(1) 予算を伴うこととなる条例、規則、要綱等の制定、改廃に関すること。
(2) 予算外の補助金等の交付申請及び返還を伴う精算に関すること。
(3) 予算外の寄附金の採納に関すること。
(4) 税外収入金の不納欠損処分に関すること。
(5) 債権の徴収停止及び免除に関すること。
(6) 前各号に定めるもののほか、市長が特に必要があると認めて指定する事項に関すること。
2 部長等は、歳出予算の執行に関して、別表第1に規定する事項及び市長が特に必要があると認めて指定する事項については、財政担当課長に合議しなければならない。
(会計管理者の指導総括)
第5条 会計事務の指導総括に関する事務は、会計管理者が行う。
2 会計管理者は、会計事務に関して必要があるときは、報告を徴し、又は調査することができる。
(出納員その他の会計職員)
第5条の2 会計管理者の事務を補助させるため、出納員、分任出納員、現金取扱員及び物品取扱員を置き、市長が会計管理者と協議して定める職にある者をもって充てる。
2 出納員は、会計管理者の命を受け、現金(現金に代えて納付される証券並びに基金に属する現金及び証券を含む。)の出納(小切手の振出しを含む。)及び保管の事務をつかさどる。
3 分任出納員は、上司の命を受け、現金の出納及び保管の事務並びに物品の出納及び保管の事務の一部をつかさどる。
4 現金取扱員は、上司の命を受け、現金の収納事務の一部をつかさどる。
5 物品取扱員は、上司の命を受け、物品の出納及び保管の事務の一部をつかさどる。
(会計事務の委任)
第5条の3 会計管理者は、出納員に現金の出納及び保管並びに物品の出納及び保管の事務を委任する。
(1) 分任出納員 その所管に属する現金の出納及び保管の事務並びに物品の出納及び保管の事務
(2) 現金取扱員 その所管に属する現金の収納
(3) 物品取扱員 その所管に属する物品の出納及び保管
(併任)
第5条の4 市長の事務部局以外の事務部局の職員は、出納員若しくは分任出納員、現金取扱員又は物品取扱員に任命された場合においては、これらの職にある間、市長の事務部局の職員に併任されたものとみなす。
(出納員等の事務引継)
第6条 出納員又はその他の会計職員は、異動を命ぜられたときは、異動発令の日から7日以内にその所掌する事務を後任者に引き継がなければならない。
2 前項の場合において、特別の事情によりその所掌する事務を後任者に引き継ぐことができないときは、会計管理者の指定する出納員又はその他の会計職員に引き継がなければならない。この場合において、引継ぎを受けた出納員又はその他の会計職員は、後任者に引き継ぐことができるようになったときは、直ちにこれを引き継がなければならない。
4 前任者が死亡その他の理由により事務の引継ぎをすることができないときは、直ちに会計管理者が当該事務を引き継ぐものとする。この場合において、後任者が決定したときは、前項の例により、直ちに後任者に引き継がなければならない。
第2章 予算
第1節 予算の編成
(予算の編成方針)
第7条 財政担当部長は、市長の命を受けて、毎年11月15日までに翌年度の予算の編成方針を定め、部長等に通知しなければならない。
(予算見積書等の提出)
第8条 部長等は、前条の編成方針に基づき、次に掲げる予算に関する見積書等のうち必要な書類を、財政担当部長が定める日までに財政担当部長に提出しなければならない。
(1) 歳入歳出予算要求書(様式第2号)
(2) 継続費見積書(様式第3号)
(3) 繰越明許費見積書(様式第4号)
(4) 債務負担行為要求書(様式第5号)
2 部長等は、その所掌に係る次に掲げる書類を作成し、前項各号に掲げる書類と合わせて提出しなければならない。
(1) 既に設定された継続費の支出状況説明書(様式第6号)
(2) 既に設定された債務負担行為の支出額等説明書(様式第7号)
3 財政担当部長は、必要に応じ、前2項に規定する書類のほか、別に予算編成に関する資料を提出させることができる。
(予算の査定)
第9条 財政担当部長及び財政担当課長は、前条第1項の規定により提出された予算に関する見積書等の内容を審査し、課長等の説明を聴いて必要な調整を加え、市長の査定を受けなければならない。
(予算案の調製)
第10条 財政担当部長は、前条の規定による市長の査定が終了したときは、直ちにこれを部長等に通知するとともに、査定の結果に基づいて予算案及び施行令第144条第1項に規定する予算に関する説明書を作成し、市長の決定を受けなければならない。
(歳入歳出予算の款項及び目節の区分)
第12条 歳入歳出予算の款項の区分並びに目及び歳入予算に係る節の区分は、毎年度の歳入歳出予算及び当該予算の事項別明細書の定めるところによる。
2 歳出予算の節の区分は、地方自治法施行規則(昭和22年内務省令第29号)別記に規定する歳出予算に係る節の区分のとおりとする。
(予算の成立の通知)
第13条 財政担当部長は、予算が成立したとき、及び法第179条に基づいて予算について専決処分をしたときは、直ちに会計管理者及び部長等に通知しなければならない。
第2節 予算の執行等
(予算の執行方針)
第14条 財政担当課長は、予算の適切かつ厳正な執行を確保するため、市長の命を受けて、予算の成立後速やかに、予算の執行計画を定めるに当たって留意すべき事項(以下「執行方針」という。)を課長等に通知しなければならない。ただし、特に執行方針を示す必要がないと認めるときは、この限りでない。
2 財政担当課長は、前項の規定により予算執行計画が提出されたときは、その内容を審査し、必要な調整を加えた後、市長の決定を受けなければならない。
3 財政担当課長は、前項の規定により決定された予算執行計画を課長等及び会計管理者に通知しなければならない。
4 財政担当課長は、課長等が毎月25日までに提出する翌月分の資金計画(様式第9号)の内容を審査し、必要な調整を加えた後、会計管理者に通知しなければならない。
5 前4項の規定は、事業計画の変更その他の理由により予算執行計画及び資金計画を変更する場合に準用する。
(歳出予算の配当)
第16条 歳出予算(前年度から繰り越された継続費及び繰越明許費並びに前年度から事故繰越しされた経費を含む。以下同じ。)の配当は、年度の当初となる予算については4月1日に、その他の予算については予算成立と同時に当該予算を所管する課長等に行うものとする。
2 歳出予算の配当は、款、項、目及び節に区分してこれをしなければならない。ただし、必要と認める場合は、目及び節をそれぞれ細目又は細々目及び細節に区分して配当することができる。
3 財政担当課長は、第1項の規定により歳出予算の配当をしたときは、直ちに会計管理者に通知しなければならない。
4 財政担当課長は、資金計画等の理由により必要があると認めるときは、市長の承認を得て、歳出予算の全部又は一部を配当しないことができる。
5 財政担当課長は、予算の執行計画の変更その他の事由により経費の一部が必要でなくなったとき、又は特定財源に収入不足を生じたときは、市長の承認を得て、配当した歳出予算を減額することができる。
6 財政担当課長は、前2項による決定をしたときは、速やかに、会計管理者及び当該課長等に通知しなければならない。
(歳出予算の執行委任)
第16条の2 課長等は、配当を受けた歳出予算について、必要と認めるときは、財政担当課長及び他の課長等と協議をして、その執行を当該他の課長等に委任することができる。
(歳出予算の配当替え)
第16条の3 課長等は、予算の執行上必要と認めるときは、当該関係課長等と協議をして予算配当替要求書(様式第9号の3)を作成し、財政担当課長に提出しなければならない。
2 財政担当課長は、前項の規定により予算配当替要求書の提出を受けたときは、その内容を審査し、決定したときは、課長等及び当該関係課長等に配当替えを行うものとする。
(歳出予算の流用)
第17条 課長等は、予算の定めるところにより歳出予算の項の金額を他の項へ流用しようとするとき、又は目及び節の金額を流用しようとするときは、予算流用要求書(様式第10号)を作成し、財政担当課長に提出しなければならない。
2 財政担当課長は、前項の規定により予算流用要求書の提出を受けたときは、その内容を審査し、これを適当と認めるときは、市長の決定を受け、その旨を課長等及び会計管理者に通知しなければならない。
3 次に掲げる経費の流用は、これをしてはならない。
(1) 交際費を増額するために流用すること。
(2) 流用した経費を更に他の経費へ流用すること。
(3) 予備費を充用した経費を更に他の経費へ流用すること。
(予備費の充用)
第18条 課長等は、予備費の充用を必要とするときは、予備費充用要求書(様式第11号)を財政担当課長に提出しなければならない。
2 前条第2項の規定は、予備費の充用に準用する。
(継続費の逓次繰越し)
第20条 部長等は、継続費の逓次繰越しをしようとするときは、継続費繰越承認申請書(様式第12号)を作成し、当該年度の3月31日までに財政担当部長に提出しなければならない。
3 財政担当部長は、継続費の逓次繰越しがあったときは、施行令第145条第1項に規定する継続費繰越計算書を毎年5月31日までに調製しなければならない。
(継続費の精算報告)
第21条 部長等は、継続費に係る継続年度(継続費に係る歳出予算の金額のうち法第220条第3項ただし書の規定により翌年度に繰り越したものがある場合には、その繰り越された年度)が終了したときは、継続費精算報告書(様式第13号)を作成し、当該継続費の終了年度の翌年度の5月31日までに財政担当部長に提出しなければならない。
2 財政担当部長は、前項の規定による報告書が提出されたときは、これを整理し、施行令第145条第2項に規定する継続費精算報告書を毎年8月31日までに調整しなければならない。
(繰越明許費の繰越し)
第22条 部長等は、繰越明許費の繰越しをしようとするときは、繰越明許費繰越承認申請書(様式第14号)を作成し、当該年度の3月31日までに財政担当部長に提出しなければならない。
(事故繰越し)
第23条 部長等は、法第220条第3項ただし書の規定により、歳出予算の事故繰越しを必要とするときは、事故繰越承認申請書(様式第15号)を作成し、当該年度の3月31日までに財政担当部長に提出しなければならない。
(予算執行状況の調査)
第24条 財政担当課長は、予算の執行の適正を期するため、市長の命を受けて、随時に課長等に対して必要な報告を求め、又はその執行状況を実地に調査することができる。
(予算の記録管理)
第25条 財政担当課長は、歳出予算及びその財源並びに配当等を電子計算組織を利用して記録しなければならない。
第3章 収入
第1節 調定
(調定の手続)
第26条 収入決定権者は、歳入を収入しようとするときは、当該歳入について施行令第154条第1項に規定するところによりこれを調査し、その内容が適正であると認めるときは、歳入予算の科目(以下「歳入科目」という。)ごとに調定決議書(様式第16号)により決議しなければならない。この場合において、歳入科目が同一であって、同時に2人以上の納入義務者に係る調定をしようとするときは、その内訳を明らかにして当該調定の合計額をもって調定することができる。
2 調定の決議には、調定の根拠、計算の基礎を明らかにした関係書類を添えなければならない。
(1) 納期の一定している収入で納入の通知を発するもの 市長が別に定めるものを除くほか、納期限の10日前まで。
(2) 納期の一定している収入のうち申告納付又は納入に係るもの 申告書の提出のあったとき。
(3) 随時の収入で納入通知書を発するもの 原因の発生したとき。
(4) 随時の収入で納入通知書を発しないもの 原因の発生したとき、又は収入のあったとき。
(分納金額の調定)
第28条 収入決定権者は、法令の規定に基づき収入金について分割して納付させる特約又は処分をしたときは、当該特約又は処分に基づき納期の到来するごとに、当該納期に係る金額について調定をしなければならない。
(返納金の調定)
第30条 収入決定権者は、第94条第1項の規定により返納通知書を発した返納金で、出納閉鎖期日までに納入されていないものがあるときは、出納閉鎖期日の翌日をもって、当該未納に係る返納金を現年度の歳入として調定しなければならない。
(調定の通知)
第33条 収入決定権者は、歳入の調定をし、又は既に決議した調定を変更若しくは取消したときは、直ちに出納機関に通知しなければならない。
2 前項の通知は、調定決議書又は調定変更書を出納機関に送付することにより行うものとする。
第2節 納入の通知
(納入の通知)
第34条 収入決定権者は、歳入の調定をしたときは、施行令第154条第2項の規定により納入の通知を必要としないものを除き、直ちに納入義務者に対して納入通知書(様式第17号)を送付しなければならない。
2 前項の規定にかかわらず、施行令第154条第3項ただし書の規定により、口頭、掲示その他の方法により納入の通知をすることができる歳入の種類は、次に掲げるものとする。
(1) 証明手数料、宿泊料その他これらに類するもので直接窓口等において取り扱う収入
(2) 入園料、入場料その他これらに類する収入
(3) 予防接種の実費その他これに類する収入
(4) 生産物の即売代金その他これに類する収入
(5) 延滞金その他これに類する収入
(6) 前各号に掲げるもののほか、納入通知書により難いと認められる収入
(納入通知書の再発行等)
第35条 収入決定権者は、納入義務者から納入通知書を亡失し、又は損傷した旨の届出を受けたときは、遅滞なく新たに当該納入義務者に係る納入通知書を作成し、その余白に「再発行」と朱書して、これを当該納入義務者に交付しなければならない。
3 収入決定権者は、既に収納された収入について、第32条の規定により増額の調定変更をしたときは、直ちに当該増加額を記載した納入通知書を作成し、当該納入義務者に送付しなければならない。この場合においては、当該変更をした旨及びその理由を合わせて当該納入義務者に通知しなければならない。
第3節 収納
(出納機関の直接収納)
第36条 出納機関は、現金又は施行令第156条第1項に規定する証券(以下「現金等」という。)を直接収納したときは、領収証書を当該納入義務者に交付しなければならない。ただし、納入義務者が納入通知書を持参し、又は送付した場合にあっては、当該納入通知書の領収書に領収印を押印して交付するものとする。
2 前項の場合において、当該収納に係る収入金が証券によるものであるときは、当該交付する領収証書の表面余白に「証券」と記載するとともに、これに係る関係書類にその旨を表示し、かつ、当該証券が納入義務者以外の者の振り出した小切手であるときは、納入義務者に裏書を求めなければならない。
(1) 金銭登録機に登録して収納する収入 金銭登録機による記録紙
(2) 入園料、入場料その他これらに類する収入 入園券又は入場券等で領収金額が表示されたもの
4 出納機関は、現金等を収納したときは、特別の事情がある場合を除くほか、その日のうちに現金等払込書(様式第19号)に当該現金等を添えて、指定金融機関等に払い込まなければならない。
(領収証書綴)
第37条 領収証書綴は、会計管理者が保管するものとし、出納機関又は地方自治法(昭和22年法律第67号。以下「法」という。)第243条の2の4第1項の規定により市の歳入の徴収若しくは収納の事務の委託を受けた私人(以下「収入事務取扱者」という。)の請求に基づき、必要に応じて交付するものとする。
2 領収証書綴を交付された者は、領収証書綴が使用済となったとき、当該事務に従事しなくなったとき、その他領収証書綴の使用を必要としなくなったときは、直ちにこれを会計管理者に返納しなければならない。
3 領収証書綴を交付された者が、領収証書綴を亡失したときは、直ちにその旨を会計管理者を経て、市長に報告しなければならない。
4 市長は、前項の規定による報告を受けたときは、直ちに次に掲げる事項を公告し、亡失した事実を明らかにしなければならない。
(1) 亡失年月日及び場所
(2) 領収証書綴の番号及び未使用枚数
5 領収証書綴は、1冊ごとに連続番号を付しておくものとし、書損じ、汚損等があったことによりこれを使用できない場合においても、破棄してはならない。
6 領収証書は、1枚につき1件を限り、所要事項を記載し、記名押印の上納入義務者に交付するものとする。ただし、同一人について同一科目に2件以上の収納を行う場合においては、これらを合わせて1枚に記載することができる。
(小切手の支払地)
第38条 施行令第156条第1項第1号の規定により市長が定める歳入の納付に使用することができる小切手の支払地の区域は、由利本荘市の区域とする。
3 収入決定権者は、第1項の規定により収納金通知書及び領収済通知書等の送付を受けたときは、これに基づき関係帳票及び当該領収済通知書等を整理しなければならない。
(支払拒絶に係る証券)
第40条 出納機関は、指定金融機関等から第151条第3項に規定する小切手不渡通知書の送付を受けたときは、直ちに当該通知に係る収入を取り消すために、当該取消額に相当する額を減少額とする収納金通知書を起票し、当該通知書を添えて収入決定権者に送付しなければならない。
2 収入決定権者は、前項の規定により、収納金通知書及び小切手不渡通知書の送付を受けたときは、直ちに徴収簿等又は滞納繰越簿を整理するとともに、「証券支払拒絶により再発行」の表示をした納入通知書を作成して納入義務者に送付し、当該小切手不渡通知書及びこれに添付された証券等を保管しなければならない。この場合において、再発行に係る納入通知書には、先に受領した証券が不渡りであった旨及びその者の請求により当該証券を還付する旨の文書を添えなければならない。
3 前項の場合において、収入決定権者は、当該証券をもって納付した者から領収書が返還され、当該証券の還付請求があったときは、その保管に係る証券を還付しなければならない。
(徴収又は収納の委託)
第41条 市長は、法第243条の2の4第1項及び法第243条の2の5第1項の規定により歳入の徴収又は収納の事務の委託をしようとするときは、収入事務取扱者と当該委託に係る事務に関し必要な事項につき契約を締結しなければならない。この場合において市長は、あらかじめ会計管理者と協議しなければならない。
2 収入事務取扱者は、受託に係る事務を執行するときは、収入事務取扱者の証(様式第21号)を携帯し、関係者の請求があるときは、これを提示しなければならない。
4 収入事務取扱者は、現金等を収納したときは、現金等払込書に当該現金等及び当該収納に係る領収済通知書を添えて、収入金計算書(様式第22号)とともに、速やかに指定金融機関等に払い込まなければならない。
5 由利本荘市市税の収納事務の委託に関する規則(平成30年由利本荘市規則第37号)の規定に基づき収納の事務を委託したときは、前3項の規定は適用しない。
(指定納付受託者による納付)
第41条の2 市長は、法第231条の2の3第1項の規定による指定納付受託者(以下「指定納付受託者」という。)の指定をしようとするときは、あらかじめ会計管理者と協議しなければならない。
2 市長は、前項の規定により指定納付受託者を指定したときは、地方自治法第231条の2の3第2項に定める事項を告示しなければならない。
第4節 収入の過誤
(収入の更正)
第42条 収入決定権者は、収納された収入金について、所属年度、会計名又は歳入科目に誤りを発見したときは、直ちに科目更正書(様式第23号)を作成し、これを出納機関に送付するとともに、関係帳簿を整理しなければならない。
2 出納機関は、科目更正書の送付を受けたときは、直ちに関係帳簿を整理し、それが所属年度又は会計名の更正に係るものであるときは、指定金融機関に対し、公金振替済通知書により更正の通知をしなければならない。
(過誤納金の整理)
第43条 収入決定権者は、過納又は誤納となった金額(以下「過誤納金」という。)があるときは、当該過誤納金について過誤納金還付命令書(様式第24号)により還付又は充当の決定をしなければならない。
(過誤納金の還付)
第44条 収入決定権者は、過誤納金を還付しようとするときは、施行令第165条の6に規定する戻出(以下「戻出」という。)にあっては「戻出」の表示をした過誤納金還付命令書を出納機関に送付し、現年度の歳出とするものにあっては一般の支出の手続により処理するとともに、それぞれ納入者に対しては、過誤納金還付(充当)通知書(様式第25号)を送付しなければならない。
2 出納機関は、前項に規定する戻出に係る過誤納金還付命令書の送付を受けたときは、収入減額の措置を講じ、支出の手続の例により納入者に対し当該過誤納金を還付しなければならない。この場合において、当該還付に係る小切手には「歳入還付」と記載しなければならない。
(過誤納金の充当)
第45条 収入決定権者は、過誤納金を充当しようとするときは、戻出に係るものにあっては過誤納金還付命令書に、現年度の歳出とするものにあっては一般の支出の手続による支出の命令に、それぞれ過誤納金還付(充当)通知書を添えて出納機関に送付するとともに、納入者に対し過誤納金還付(充当)通知書により通知しなければならない。
2 出納機関は、前項の規定による過誤納金還付命令書の送付又は充当に係る支出の命令を受けたときは、過誤納金還付命令書によるものにあっては過誤納の科目から充当する科目に振り替え、支出の命令によるものにあっては公金振替の方法により処理しなければならない。
(還付加算金)
第46条 過誤納金に加算する還付加算金を支出しようとするときは、当該還付又は充当と合わせて支出の手続をしなければならない。
2 前項の規定による還付加算金を充当しようとするときは、公金振替の方法により処理しなければならない。
第5節 収入未済金
(督促)
第47条 収入決定権者は、収入金が納期限までに納入されないときは、法第231条の3第1項又は施行令第171条の規定により、当該納入義務者に対し、当該納期限後20日以内に督促状を発しなければならない。
2 前項の規定により発する督促状に指定すべき納期限は、発行の日から10日以内としなければならない。
3 収入決定権者は、前2項の規定により督促をしたときは、その旨を徴収簿等に記載しなければならない。
(滞納処分)
第48条 収入決定権者は、前条第1項の規定により督促状を発した収入金が法第231条の3第3項に規定する収入金である場合において、当該督促状を発した日から起算して15日を経過した日までに当該督促に係る収入金が納入されないときは、地方税の滞納処分の例により滞納処分をしなければならない。
2 滞納処分を行う職員は、市長が職員のうちから命ずるものとする。
(不納欠損)
第49条 収入決定権者は、既に収入の調定をしたものを不納欠損として処理しようとするときは、不納欠損調書(様式第28号)を作成し、市長の決定を受けなければならない。
(収入未済額の繰越し)
第50条 収入決定権者は、現年度において調定をした収入金で当該年度の出納閉鎖期日までに収納にならなかったものは、不納欠損として処理したものを除き、翌年度に繰り越すものとし、徴収簿等に「未納繰越」の記入をしなければならない。
2 前項の規定により繰り越した収入金で翌年度の末日までに収納にならなかったものについては、不納欠損として処理したものを除き、その後逓次に繰り越さなければならない。
第6節 帳簿等の調製
(歳入関係整理簿)
第51条 出納機関は、次に掲げる帳票類を整理しなければならない。
(1) 歳入現計表(様式第31号)
(2) 調定決議書
(3) 科目更正書
(4) 公金振替票
(5) 過誤納金還付命令書
(収納金内訳表等の調製)
第52条 出納機関は、その日の収入処理が終了したときは、収支日計表(様式第32号)を会計別及び科目別に区分し、これを整理するとともに、収納金内訳表に集計し、現金出納簿を整理しなければならない。
2 出納機関は、その月の収入を終了したときは、当該月分の収支日計表等を集計し、歳入現計表を整理しなければならない。
第4章 支出
第1節 支出負担行為
2 支出決定権者は、別表第2に定める事項については、支出負担行為兼支出命令書により支出命令の手続きと併せて行うことができる。
3 支出決定権者は、別表第2に定める事項について、債権者を集合し、又は科目を併合して支出負担行為の手続きを行うことができる。
(支出負担行為の事前審査)
第55条 支出決定権者は、財政担当部長が特に指示するものについて支出負担行為をしようとするときは、あらかじめ支出負担行為書に関係書類を添えて出納機関に回付し、当該支出負担行為が法令又は予算に違反していないことについて審査を受けなければならない。
(支出負担行為の変更等)
第56条 前3条の規定は、支出負担行為を変更し、又は取り消す場合について準用する。この場合において、支出負担行為の金額を増額し、又は減額する変更にあっては、当該増額又は減額分に係る新たな支出負担行為書又は支出負担行為兼支出命令書(減額分に係るものは、金額の頭に「△」印を付したもの)を起票してこれを決議しなければならない。
第2節 支出命令
(支出命令)
第57条 支出決定権者は、支出しようとするときは、法令、契約、請求書その他の関係書類に基づいて、支出の根拠、所属年度、歳出科目、金額及び債権者等を調査し、適正であると認めたときは、直ちに支出命令書(様式第35号)又は支出負担行為兼支出命令書により支出の決定をするとともに、これに関係書類を添付して出納機関に送付することにより、支出の命令(以下「支出命令」という。)をしなければならない。
2 支出決定権者は、第53条第3項の規定により支出負担行為の手続きを経た支出事項に係る支払いを行う場合は、債権者別の内訳を明示した書類を添えて、債権者を集合し、又は科目を併合して支出命令をすることができる。
(請求書による原則)
第58条 支出命令は、債権者からの請求書に基づいてこれをしなければならない。
2 前項の請求書には、請求の内容及び計算の基礎を明らかにした明細の記載があり、債権者の記名がなければならない。この場合において、債権者が代表者又は代理人名義のものであるときは、その資格権限の表示がなければならない。
3 前項の規定により表示された資格権限を認定し難いときは、その資格権限を証する書類を徴して、これを確認しなければならない。
4 債権者が代理人に請求権又は領収権を委任したときは、第1項の請求書に委任状を添えさせなければならない。
5 債権の譲渡又は承継があった債務に係る支出については、第1項の請求書にその事実を証する書面を添えさせなければならない。
(請求書による原則の例外)
第59条 前条の規定にかかわらず、次に掲げる経費については、それぞれ当該経費の計算の基礎を明らかにした支出調書により支出命令を発することができる。
(1) 報酬、給料、職員手当等、共済費及びその他の給与金
(2) 市債の元利償還金
(3) 報償金及び賞賜金
(4) 扶助費及び保険金給付費のうち金銭でする給付
(5) 官公署の発する納入通知書その他これに類するものにより支払うべき経費
(6) 前各号に掲げるもののほか、その性質上請求書を提出させることができないもの又は請求書を提出させることが適当でないと認められるもの
(報酬、給料等についての特例)
第60条 支出決定権者は、報酬、給料、職員手当等その他の給与金及び報償金に係る支出命令をする場合において、債権者に支払うべき金額から、所得税、県民税、市町村民税、共済組合掛金その他法令等の規定により控除すべき金額があるときは、当該控除すべき額及び当該控除すべき額を控除した債権者が現に受けるべき金額を明示しなければならない。
第3節 支出の特例
(資金前渡できる経費)
第61条 施行令第161条第1項第17号に規定する規則で定める経費は、次に掲げるものとする。
(1) 交際費
(2) 各種会議の会費及び負担金
(3) 自動車重量税印紙の購入に要する経費
(4) 児童手当
(5) 前各号に掲げるもののほか、経費の性質上即時現金払をしなければ事務又は事業の遂行に著しく支障を及ぼすと認められる経費
(資金前渡職員)
第62条 支出決定権者は、施行令第161条の規定により資金前渡の方法により支出しようとするときは、当該現金の支払事務に従事する職員(以下「資金前渡職員」という。)を指定しなければならない。
2 資金前渡職員の指定は、当該支出の内容及び支払時期を明らかにして、その都度行うものとする。ただし、特に必要があると認められるときは、あらかじめ指定しておくことができる。
(前渡資金の保管)
第63条 資金前渡職員は、資金の前渡を受けたときは、直ちに支払をする場合又は特別な事由がある場合を除くほか、当該資金(以下「前渡資金」という。)を銀行その他確実な金融機関に預貯金して保管し、私金と混同してはならない。
2 資金前渡職員は、前項の規定による預貯金から生ずる利子を受け入れる都度、その旨を支出決定権者に報告しなければならない。
(前渡資金の支払)
第64条 資金前渡職員は、前渡資金の支払をするときは、第75条の規定に準じて必要な審査をし、支払の決定をしなければならない。
2 資金前渡職員は、前渡資金の支払をしたときは、債権者から領収書を徴さなければならない。ただし、領収書を徴し難いものについては、支払証明書(様式第37号)をもってこれに代えることができる。
(前渡資金整理簿)
第65条 資金前渡職員は、前渡資金整理簿(様式第38号)を備え、その取扱いに係る収支を記載しなければならない。ただし、債権者及び支払額が確定し、かつ、直ちに支払う経費については、記載を省略することができる。
(前渡資金の精算)
第66条 資金前渡職員は、前渡資金について支払が完了したとき、若しくは保管事由がなくなったとき、又は当該年度の出納閉鎖期日において前渡資金に使用残額があるときは、直ちに精算命令書(様式第39号)を作成し、領収書又は支払証明書及び前渡資金整理簿を添付して支出決定権者に提出しなければならない。
3 支出決定権者は、第1項の規定により、前渡資金精算書の提出を受けたときは、その内容を審査し、これを出納機関に送付するとともに、精算残額のあるときは、合わせて戻入の手続をしなければならない。
(概算払)
第67条 施行令第162条第6号に規定する規則で定める経費は、次に掲げるものとする。
(1) 運賃又は保管料
(2) 委託料
(3) 予納金又はこれに類する経費
(4) 損害賠償として支払う経費
(概算払の精算)
第68条 概算払を受けた者は、支払に係る用務の終了後速やかに精算命令書を作成し、支出決定権者に提出しなければならない。
2 前項の規定にかかわらず、旅費の概算払を受けた者は、旅行を完了した日の翌日から起算して7日以内に精算命令書を作成し、支出決定権者に提出しなければならない。
3 支出決定権者は、前2項の規定による精算書の提出を受けたときは、その内容を審査し、これを出納機関に送付するとともに、精算残額のあるときは、合わせて戻入の手続をしなければならない。
(前金払)
第69条 施行令第163条第8号に規定する規則で定める経費は、使用料、保管料又は保険料とする。
2 支出決定権者は、前金払をしたもので債務の履行がなされなかったものがあるときは、遅滞なくその不履行の部分に相当する金額を返還させなければならない。
(繰替払の手続)
第70条 支出決定権者は、出納機関又は指定金融機関等をして、施行令第164条に規定するもの及び経費の性質上繰り替えて使用しなければ事務の取扱いに支障を及ぼす経費で市長が特に必要があると認めるものについて、収納に係る現金を繰替使用させようとするときは、出納機関に対し繰替使用させる旨を通知しなければならない。
2 前項の規定による通知は、調定決議票に「繰替払」と表示してこれを送付することにより行うものとし、かつ、当該調定決議票には当該支払をさせようとする経費の算出の基礎その他算出方法を明示した書類を添付しなければならない。
3 出納機関は、第1項の規定により繰替使用させる旨の通知を受けたときは、その旨及び当該支払をさせようとする経費の算出の基礎その他算出方法を指定金融機関等に通知しなければならない。
(繰替払の整理)
第71条 出納機関は、繰替払をしたときは、納入通知書又は現金等払込書の各片に繰替払済の印(様式第42号)を押して繰替払額を注記するとともに、当該納入通知書又は現金等払込書に係る領収済通知書に領収印を徴さなければならない。
4 支出決定権者は、前項の規定により繰替払調書の送付を受けたときは、当該繰り替えて使用した金額を歳出として、直ちに支出負担行為兼支出命令書によりこれを決議し、出納機関に送付しなければならない。
(支出事務の委託)
第72条 市長は、施行令第173条の3第1項の規定により私人に支出の事務を委託しようとするときは、委託を受けようとする私人(以下「支出事務取扱者」という。)と当該支出の取扱いについて契約を締結しなければならない。この場合において、市長は、あらかじめ会計管理者と協議しなければならない。
2 支出決定権者は、前項の規定により支出事務の委託契約を締結したときは、支出事務取扱者に対し契約の定めるところにより資金を交付しなければならない。
(資金の返還)
第73条 支出決定権者は、次に掲げる場合においては、支出事務取扱者に資金の返還を命じなければならない。
(1) 契約の解除をしたとき。
(2) 契約違反の事実があると認められたとき。
(過年度支出)
第74条 支出決定権者は、過年度支出に係る支出を決定しようとするときは、あらかじめその金額及び事由を記載した書面に債権者の請求書その他の関係書類を添えて、市長の承認を受けなければならない。
第4節 支払の方法
(支出命令の審査)
第75条 出納機関は、支出命令を受けたときは、次に掲げる事項について確認しなければならない。
(1) 所属年度、会計名及び歳出科目に誤りがないこと。
(2) 配当予算の範囲内であること。
(3) 金額の算定に誤りがないこと。
(4) 契約の締結の方法が適法であること。
(5) 支払方法が正当であること。
(6) 支払時期が到来していること。
(7) 正当な債権者であること。
(8) 必要な書類が整備されていること。
(9) 法令、契約等に違反していないこと。
(10) 前各号に掲げるもののほか、必要な事項
2 出納機関は、前項の場合において特に必要があると認めるときは、実地調査等の方法により審査することができる。
3 出納機関は、前2項の規定による審査を行った結果支払をすることができないと認めたものについては、支出決定権者に対し理由を付して当該支出命令に係る関係書類を返付しなければならない。
(小切手による支払)
第76条 出納機関は、前条の確認をしたときは、法令又は契約に別段の定めがある場合を除くほか、指定金融機関を支払人とする小切手を振り出し、当該小切手を債権者に交付するとともに、領収書を徴さなければならない。
2 領収書に押す領収印は、請求書に押したものと同一のものでなければならない。ただし、紛失その他やむを得ない事由により改印したものであるときは、その印鑑を証明すべき書類を提出させなければならない。
(小口現金払)
第77条 出納機関は、同一の債権者に対する1回の支払金額が5万円以内である場合で、かつ、当該債権者から申出があるときは、直接現金で支払うとともに、領収書を徴さなければならない。
2 出納機関は、前項の規定による支払の資金に充てるため、自己あて小切手を振り出し、指定金融機関から当該支払に係る現金の交付を受けなければならない。
(指定金融機関の現金支払)
第78条 出納機関は、指定金融機関から現金で支払を受ける旨の債権者の申出があったときは、債権者に対し小切手の交付に代えて支払通知書(様式第45号)を交付し、領収書を徴さなければならない。この場合において、支払通知書の有効期間は、発行日における当該指定金融機関の店舗の営業時限までとする。
2 出納機関は、前項の規定により指定金融機関をして現金支払をさせたときは、会計ごとに当日分の合計額を券面金額として指定金融機関を受取人とする小切手を振り出し、その余白に「現金払(金融機関)」と表示し、指定金融機関に交付しなければならない。
2 前項の場合において、数人の債権者に対して同一会計から支払をしようとするときは、その合計額を券面金額とする小切手を振り出すことができる。
3 隔地払における支払場所の指定は、債権者のため最も便利と認められる支払金融機関の店舗に限るものとする。ただし、特に必要があると認めるときは、支払金融機関以外の金融機関を支払場所に指定することができる。
(口座振替払)
第80条 出納機関は、施行令第165条の2の規定により、口座振替の方法により支払をしようとするときは、支払金融機関を受取人とする小切手を振り出し、その表面余白に「口座振替払」と表示し、総合振込依頼書(様式第47号)を添えて支払金融機関に送付しなければならない。
2 施行令第165条の2に規定する市長が定める金融機関は、指定金融機関と為替取引のある金融機関とする。
3 出納機関は、第1項の規定により口座振替をしたときは、総合振込通知書を指定金融機関から徴さなければならない。
(公金振替払)
第81条 出納機関は、次に掲げる場合においては、公金振替の方法により当該経費を支払わなければならない。
(1) 同一会計内において歳入と歳出の相互の収支をするとき。
(2) 会計相互間の収支をするとき。
(3) 歳入又は歳出と基金の相互の収入若しくは受入れ又は支出若しくは払出しをするとき。
(4) 翌年度歳入の繰上充用をするとき。
(5) 歳入又は歳出と歳入歳出外現金相互の収入若しくは受入れ又は支出若しくは払出しをするとき。
4 支出決定権者は、第1項各号に掲げる場合で当該経費が調定済の場合にあっては、当該経費に係る支出命令書又は支出負担行為兼支出命令書の表面余白に「公金振替」と表示し、かつ、当該振替を受ける会計、年度及び科目を付記して、出納機関に通知しなければならない。
6 出納機関は、次に掲げる場合においては、公金振替払の例によりこれを振り替えなければならない。
(1) 繰越明許費、事故繰越し又は継続費の逓次繰越しに係る繰越財源を繰り越す場合
(2) 前号に規定するもの以外の歳計剰余金を繰り越す場合
(3) 会計相互間において資金を流用する場合
第5節 小切手
(小切手に関する事務)
第82条 小切手の記載及び押印は、会計管理者が自らこれをしなければならない。ただし、必要があるときは、会計管理者の指定する法第171条第1項に規定する職員(以下「補助職員」という。)にこれを行わせることができる。
2 会計管理者は、小切手帳及び小切手の振出しに使用する専用の印鑑(以下「専用印鑑」という。)をそれぞれ別の容器に入れ厳重に保管しなければならない。ただし、必要があるときは、補助職員をしてこれを保管させることができる。
3 前項ただし書の規定により、小切手帳及び専用印鑑を保管させるときは、特別の事情がある場合のほか、小切手帳及び専用印鑑についてそれぞれ別の補助職員を指定しなければならない。
(専用印鑑の届出)
第83条 会計管理者は、専用印鑑の印影をあらかじめ指定金融機関に届け出ておかなければならない。この場合においては、当該印鑑の使用開始年月日を合わせて通知しなければならない。
(小切手の作成)
第84条 会計管理者は、その振り出す小切手に、支払金額、指定金融機関名、振出年月日、振出地及び支払地を記載するほか、会計名、会計年度及び番号を付記しなければならない。
2 小切手に表示する券面金額は、アラビヤ数字を用い、印字機により記載しなければならない。
3 会計管理者は、小切手に会計年度の区分ごとに連続した振出番号を記載しなければならない。この場合において、廃棄する小切手に記載した振出番号は、欠番としなければならない。
4 小切手は、持参人払式とする。ただし、次に掲げる者を受取人として振り出す小切手には、線引をしなければならない。
(1) 会計管理者
(2) 資金前渡職員
(3) 官公署
(4) 支払金融機関
(5) 支出事務取扱者
5 会計管理者は、前項本文の規定にかかわらず、特に重要と認める支出に係る小切手については、記名式とすることができる。
6 小切手の振出年月日の記載及び押印は、当該小切手を受取人に交付するときにしなければならない。
(小切手の交付及び交付後の確認)
第85条 小切手は、当該小切手の受取人が正当な受領権限のある者であることを確認した上でなければ、これを交付してはならない。
2 小切手は、当該小切手の受取人に交付するときでなければ、これを小切手帳から切り離してはならない。
3 会計管理者は、毎日、その振り出した小切手の原符と当該小切手の受取人の提出した領収書とを照合し、それらの金額及び受取人について相違がないことを確認しなければならない。
4 会計管理者は、毎日、その日の小切手振出済額について、小切手振出済通知書(様式第50号)により指定金融機関に通知しなければならない。
5 会計管理者は、小切手振出簿(様式第51号)を備え、所定の事項を記載するとともに、小切手の振出枚数及び金額、小切手の廃棄及び残存用紙の枚数等について確認しなければならない。
(小切手帳)
第86条 会計管理者は、会計年度(その出納整理期間を含む。)ごとに小切手帳を別冊とし、常時1冊を使用しなければならない。ただし、会計ごとに小切手帳を区分する必要があると認めるときは、この限りでない。
2 会計管理者は、小切手帳の交付を受けようとするときは、小切手帳請求書(様式第52号)により指定金融機関から交付を受けるものとし、小切手帳の交付を受けたときは、小切手用紙及び枚数を確認しなければならない。
(小切手記載事項の訂正)
第87条 小切手の券面金額は、これを訂正してはならない。
2 小切手の券面金額以外の記載事項を訂正するときは、その訂正を要する部分を複線で抹消し、その上部に正書し、かつ、訂正をした旨及び訂正した文字の数を記載して、専用印鑑を押さなければならない。
(小切手の廃棄)
第88条 書損じ等により小切手を廃棄するときは、当該小切手に斜線を朱書した上「廃棄」と記載し、そのまま小切手帳に残しておかなければならない。
(不用小切手用紙)
第89条 会計管理者は、使用小切手帳が不用となったときは、当該小切手帳の未使用用紙を速やかに指定金融機関に返戻して受領書を受け取り、当該小切手帳から振り出した小切手の原符とともに保管しなければならない。
(小切手の償還)
第90条 会計管理者は、次に掲げる者から、施行令第165条の4の規定による小切手の償還請求の申出があるときは、当該請求者に小切手償還請求書(様式第53号)を提出させ、当該請求に係る小切手が支払未済であること及びその請求が正当であることを確認しなければ、償還をしてはならない。
(1) 指定金融機関において支払を拒絶された小切手(振出日付から1年を経過したものを含む。)の所持人
(2) 非訟事件手続法(明治31年法律第14号)第160条第2項の規定による権利を主張する者
3 会計管理者は、小切手の償還をすべきもののうち、当該支払に係る小切手が振出日付から1年以内のものであるときは、「再交付」と表示した再交付のための小切手を振り出して当該請求者に交付し、領収書を徴さなければならない。当該償還に係る小切手が振出日付から1年を経過したものであって、当該小切手を振り出した会計年度の出納整理期間中に小切手償還請求があったものについても、また同様とする。
4 会計管理者は、小切手の償還をすべきもののうち、当該支払に係る小切手が振出日付から1年を経過しているもの(前項後段に規定するものを除く。)であるときは、小切手償還請求書を当該小切手に係る支出の支出決定権者に回付し、改めて支出の命令を受けて小切手の償還をしなければならない。
5 支出決定権者は、前項の規定により小切手償還請求書の回付を受けたときは、直ちに当該回付された請求書に基づいて支出の手続をしなければならない。
第6節 支払未済金
(支払未済金の整理)
第91条 出納機関は、第160条第1項の規定により、指定金融機関から小切手振出済支払未済繰越調書の送付を受けたときは、これを審査の上、小切手支払未済繰越金として整理しなければならない。
(隔地払に係る支払未済の処理)
第92条 出納機関は、第161条第2項の規定により、支払金融機関から隔地払金未払調書の送付を受けたときは、直ちに当該調書を収入決定権者に送付しなければならない。
2 出納機関は、隔地払資金の歳入への納付があった後において、債権者から送金済通知書を呈示してその支払を求められたときは、関係書類を添えてその旨を支出決定権者に通知しなければならない。
3 支出決定権者は、前項の規定による通知を受けたときは、過年度に係る支出の決定をし、出納機関に対し支出命令を発しなければならない。
第7節 支出の訂正等
(支出の訂正)
第93条 支出決定権者は、支出した後において過誤その他の理由により当該支出の訂正を要すると認めるものがあるときは、金額を増額する訂正にあっては当該増額分に係る新たな支出命令に、年度、会計名又は科目の更正にあっては支出更正票に、それぞれ関係書類を添えて出納機関に送付しなければならない。
2 出納機関は、前項に規定する支出更正票の送付を受けたときは、直ちに関係帳簿を訂正するとともに、年度又は会計名の更正に係るものであるときは、指定金融機関に対し公金振替済通知書により更正の通知をしなければならない。
2 前項の規定により、返納すべき者から過誤払金等の返納を受けたときは、その返納金の属する年度の出納閉鎖前にあっては支出科目に戻入し、出納閉鎖後にあっては現年度の歳入に繰り入れなければならない。
第8節 帳簿等の調製
(支出負担行為の記録及び整理)
第95条 課長等は、その所掌に係る歳出予算について、支出負担行為の決議又はその変更等があったときは、直ちにこれを記録して整理しなければならない。
2 前項に規定する記録及び整理は、電子計算組織を利用し、支出負担行為決議票にあってはこれをとじ合わせ、整理することにより行うものとする。
(1) 継続費 継続費関係予算整理簿(様式第56号)
(2) 債務負担行為 債務負担行為関係予算整理簿(様式第57号)
(3) 繰越明許費及び事故繰越し 繰越予算関係整理簿(様式第58号)
(支払金内訳表等の整理)
第96条 出納機関は、その日の支出を終了したときは、収支日計表をもとに支出命令書、支出負担行為兼支出命令書、振替命令書、戻入命令書、支出更正票、精算書(以下「支出関係命令書」という。)を会計別及び科目別に区分し、これを整理するとともに、支払金内訳表に集計し、現金出納簿を整理しなければならない。
2 出納機関は、その月の支出を終了したときは、当該月分の支出関係命令書を集計し、歳出現計表(様式第59号)を整理しなければならない。
(歳出関係整理簿)
第97条 出納機関は、次に掲げる帳票類を整理しなければならない。
(1) 歳出現計表
(2) 歳出予算流用通知書
(3) 予備費充用通知書
(4) 予算配当替通知書
(5) 支出関係命令書
第5章 決算
(決算資料の提出)
第98条 部長等は、その所掌に係る予算の執行の結果について、歳入歳出決算事項説明書(様式第62号)を作成し、翌年度の6月30日までに会計管理者に提出しなければならない。
2 部長等は、その所掌に係る主要な施策について主要事業執行実績報告書(様式第63号)を作成し、翌年度の6月30日までに財政担当部長に提出しなければならない。
(歳計剰余金の処分)
第99条 財政担当課長は、法第233条の2の規定により歳計剰余金を翌年度の歳入又は基金に編入しようとするときは、市長の指示を受けて処理しなければならない。
(翌年度歳入の繰上充用)
第100条 会計管理者は、施行令第166条の2の規定により翌年度歳入の繰上充用を必要とするときは、出納閉鎖期日までに財政担当課長に通知しなければならない。
2 財政担当課長は、前項の規定による通知を受けたときは、直ちにこれに係る補正予算案を作成し、市長に提出しなければならない。
第6章 契約
第1節 一般競争入札
(一般競争入札参加者の資格)
第101条 契約権者は、施行令第167条の4第2項各号の規定に該当する者を、同項に規定する期間、一般競争入札に参加させてはならない。
2 施行令第167条の5第1項の規定による一般競争入札に参加する者に必要な資格は、市長が必要の都度これを定める。
2 契約権者は、前項の規定により資格の有無を確認したときは、当該入札参加者にその結果を通知しなければならない。
(入札の公告)
第103条 契約権者は、一般競争入札に付するときは、当該入札の前日から起算して10日(急施を要する場合にあっては5日)前までに、次に掲げる事項をインターネットホームページ等により公告しなければならない。
(1) 入札に付する事項
(2) 入札に参加する者に必要な資格
(3) 入札執行の場所及び日時
(4) 契約条項、その他入札に必要な書類を示す場所及び日時
(5) 入札保証金に関する事項
(6) 入札無効に関する事項
(7) 契約が議会の議決を要するものであるときの契約の成立時期
(8) 前各号に掲げるもののほか、入札に関し必要な事項
2 5000万円以上の建設工事に係る一般競争入札の公告期間は、前項の規定にかかわらず、建設業法施行令(昭和31年政令第273号)第6条第1項に規定する見積期間によらなければならない。
(入札保証金)
第104条 契約権者は、入札参加者をして、その者の見積もる契約金額の100分の5以上の入札保証金を入札前に納めさせなければならない。ただし、次の各号のいずれかに該当する場合においては、入札保証金の全部又は一部を納めさせないことができる。
(1) 入札参加者が保険会社との間に市を被保険者とする入札保証保険契約を締結したとき。
(2) 入札参加者が過去2年間に市、国(公団等を含む。)又は他の地方公共団体と種類及び規模をほぼ同じくする契約を数回以上にわたって締結し、これらをすべて誠実に履行した実績を有する者であり、かつ、その者が契約を締結しないこととなるおそれがないと認められるとき。
2 前項に規定する入札保証金の納付は、次に掲げる担保の提供をもって代えることができる。
(1) 国債又は地方債
(2) 特別の法律により法人の発行する債券及び市長が確実と認める社債券
(3) 銀行又は市長が確実と認める金融機関が引き受け、又は保証若しくは裏書をした手形
(4) 銀行又は市長が確実と認める金融機関が振り出し、又は支払保証をした小切手
(5) 銀行又は市長が確実と認める金融機関に対する定期預金債権
(6) 銀行又は市長が確実と認める金融機関の保証
(1) 前項第1号に掲げる担保 額面金額
(2) 前項第2号に掲げる担保 額面金額又は登録金額(発行価額が額面金額又は登録金額と異なるときは、発行価額)の10分の8に相当する金額
(3) 前項第3号に掲げる担保 手形金額(その手形の満期の日が未到来であるときは、提出した日の翌日から満期の日までの期間に応じ当該手形金額を一般の金融市場における手形の割引率によって割り引いた金額)
(4) 前項第4号に掲げる担保 小切手金額
(5) 前項第5号に掲げる担保 定期預金債権証書に記載された債権金額
(6) 前項第6号に掲げる担保 その保証する金額
(入札保証金の還付等)
第105条 入札保証金(その納付に代えて提供された担保を含む。)は、入札終了後、直ちに還付するものとする。ただし、落札者に対しては、契約を締結した後これを還付し、又は契約保証金の納付に振り替えることができる。
(予定価格)
第106条 契約権者は、一般競争入札に付する事項について、その予定価格を定め、予定価格調書(様式第65号)を作成して封書にし、開札の際、これを開札場所に置かなければならない。
2 予定価格は、一般競争入札に付する事項の価額の総額について定めるものとする。ただし、一定期間継続してする製造、修理、加工、売買、供給、使用等の契約の場合においては、単価についてその予定価格を定めることができる。
3 予定価格は、契約の目的となる物件、工事又は役務について、取引の実例価格、需給の状況、履行の難易、数量の多寡、履行期間の長短等を考慮して適正に定めなければならない。
(最低制限価格の決定)
第107条 契約権者は、工事又は製造の請負を一般競争入札に付する場合において、最低制限価格を設ける必要があるときは、予定価格の決定の例によりこれを定めなければならない。
3 最低制限価格を設ける場合には、第103条の規定による公告において、その旨を明らかにしなければならない。
(入札の方法)
第108条 契約権者は、入札参加者をして、入札執行の場所及び日時に入札書(様式第66号)を提出させなければならない。
3 入札書は、郵便により提出させることができる。この場合においては、入札書在中の旨を表記した封筒に封入の上、更にこれを封書にして書留の取扱いにより提出させなければならない。
4 前項の規定により提出させる入札書は、開札時刻までに到達したものに限り、これを受理する。
5 代理人が入札する場合は、入札前に委任状を提出させなければならない。
(入札の無効)
第109条 次の各号のいずれかに該当する入札は、無効とする。
(1) 入札に参加する資格のない者のした入札
(2) 入札保証金を納付させる場合、入札保証金を納付しない者又はその金額に不足のある者のした入札
(3) 同一の入札について、2以上の入札をした者の入札
(4) 同一の入札について、2人以上の入札者の代理人となった者の入札
(5) 談合その他不正行為により入札を行ったと認められる入札
(6) 入札書の記載事項が脱落し、若しくは不明瞭で判読できない入札又は首標金額を訂正した入札
(7) 委任状を持参しない代理人のした入札
(8) 記名押印を欠く入札(電子入札システムによる場合にあっては、電子証明書を取得していない者のした入札)
(9) 前各号に定めるもののほか、指示した条件に違反すると認められる入札
(落札通知)
第110条 契約権者は、落札者を決定したときは、直ちにその旨を落札者に通知しなければならない。
(再度公告入札)
第111条 契約権者は、入札者若しくは落札者がない場合又は落札者が契約を締結しない場合においては、施行令第167条の8第4項の規定により再度の入札を行う場合を除き、更に公告して、一般競争入札に付することができる。
第2節 指名競争入札
(指名競争入札の参加者の資格)
第112条 施行令第167条の11第2項の規定による指名競争入札に参加する者に必要な資格は、市長が別に定める。
(指名競争入札の参加者の指名)
第113条 契約権者は、指名競争入札に付そうとするときは、別に定めるところにより、当該入札に参加することができる資格を有する者のうちから当該入札に参加させようとする者を3人以上指名しなければならない。ただし、特別の事情があるときは、この限りでない。
2 前項の規定により入札者を指名したときは、第103条第1項第1号及び第3号から第8号までに掲げる事項をその指名する者に通知しなければならない。
第3節 随意契約及び競り売り
(1) 工事又は製造の請負 200万円
(2) 財産の買入れ 150万円
(3) 物件の借入れ 80万円
(4) 財産の売払い 50万円
(5) 物件の貸付け 30万円
(6) 前各号に掲げるもの以外のもの 100万円
(特定の随意契約に係る手続)
第115条の2 施行令第167条の2第1項第3号及び第4号の規則で定める手続は、次に掲げるとおりとする。
(1) 契約を締結しようとするときは、あらかじめ、次に掲げる事項について公表すること。
ア 契約の名称及び概要
イ 契約の相手方に必要な資格
ウ 契約の相手方の決定方法
エ 見積書の提出方法
オ 担当課室所名
(2) 契約を締結したときは、速やかに次に掲げる事項について公表すること。
ア 契約に係る物品又は役務の名称、数量等
イ 契約を締結した日
ウ 契約の相手方の氏名又は名称
エ 契約金額
オ 契約の相手方とした理由
カ 担当課室所名
2 前項各号の規定による公表は、インターネットの利用その他の方法により行う。
(見積書の徴取)
第116条 契約権者は、随意契約により契約しようとするときは、2人(次の各号のいずれかに該当する場合は、1人)以上の者から見積書を徴さなければならない。
(1) 契約の目的又は性質により契約の相手方が特定されるとき。
(2) 1件の契約金額が10万円未満の物品の購入、印刷製本又は修繕をするとき。
2 前項の規定にかかわらず、郵便切手、郵便はがき、収入印紙等専売価格の定めがあるもの若しくは定期刊行物、法令集の追録等の購入又は契約の目的若しくは性質により見積書を徴し難いと認められる契約については、見積書を徴さないことができる。
(随意契約の予定価格)
第117条 契約権者は、随意契約により契約しようとするときは、第106条の規定に準じて予定価格を定めなければならない。ただし、特に必要がないと認めるときは、予定価格調書の作成を省略することができる。
(競り売り)
第118条 契約権者は、競り売りをしようとするときは、職員を指定し、当該職員をして競り売りをさせなければならない。ただし、特に必要と認めるときは、職員以外の者から競り売り人を選び、職員を立ち会わせて競り売りを行うことができる。
第4節 契約の締結
(入札に付した契約の締結期間)
第119条 契約権者は、落札の通知を発した日から起算して5日以内(休日を含まない)に契約(議会の議決に付すべきものについては、仮契約。本条及び次条において同じ。)を締結しなければならない。ただし、落札者が契約の締結に応じられないやむを得ない事由があると認められる場合は、その期限を延長することができる。
(契約書の作成)
第120条 契約権者は、契約を締結しようとするときは、次に掲げる事項を記載した契約書を作成して、契約の相手方(以下「契約者」という。)とともに当該契約書に記名押印するものとする。ただし、契約の内容によりその記載事項の一部を省略することができる。
(1) 契約の目的
(2) 契約金額
(3) 履行期限又は期間
(4) 契約保証金に関する事項
(5) 契約履行の場所
(6) 契約代金の支払又は受領の時期及び方法
(7) 監督及び検査に関する事項
(8) 履行の遅滞その他債務の不履行の場合における遅延利息、違約金その他の損害金に関する事項
(9) 危険負担に関する事項
(10) 契約不適合責任に関する事項
(11) 契約に関する紛争の解決方法
(12) 前各号に掲げるもののほか、必要な事項
2 前項の規定にかかわらず、1件の金額が30万円(公有財産を購入する場合を除く。)を超えない契約については、契約書に代え、請書によることができる。
(1) 1件の金額が10万円を超えない随意契約をするとき。
(2) 物品を売り払う場合において、買受人が直ちに代金を納付してその物品を引き取るとき。
(3) 官公署と契約をする場合において、契約書を作成する必要がないと認められるとき。
(4) 競り売りに付するとき。
(5) 市と用品購入単価契約をしている物品を購入するとき。
(6) 前各号に定めるもののほか、特に契約書を作成する必要がないと認められるとき。
(議会の議決を必要とする契約)
第122条 契約権者は、由利本荘市議会の議決に付すべき契約及び財産の取得又は処分に関する条例(平成17年由利本荘市条例第54号)の規定により、議会の議決を必要とする契約を締結しようとするときは、当該契約者と仮契約を締結し、当該仮契約書に議会の議決を得たときに本契約として成立する旨の文言を付記しなければならない。
2 契約権者は、前項に規定する契約の締結について議会の議決を得たときは、直ちにその旨を契約者に通知しなければならない。
(契約保証金)
第123条 契約権者は、契約を締結したときは、直ちに契約者をして、契約金額の100分の10以上の契約保証金を納めさせなければならない。ただし、次の各号のいずれかに該当する場合においては、契約保証金の全部又は一部を納めさせないことができる。
(1) 契約者が、保険会社との間に市を被保険者とする履行保証保険契約を締結したとき。
(2) 契約の相手方から委託を受けた保険会社、銀行、農林中央金庫その他予算決算及び会計令(昭和22年勅令第165号)第100条の3第2号の規定に基づき財務大臣が指定する金融機関と工事履行保証契約を締結したとき。
(3) 契約者が、過去2年間に市、国(公団等を含む。)又は他の地方公共団体と種類及び規模をほぼ同じくする契約を数回以上にわたって締結し、これらをすべて誠実に履行した実績を有する者であり、かつ、契約を履行しないこととなるおそれがないと認められるとき。
(4) 法令に基づき延納が認められる場合において、確実な担保が提供されたとき。
(5) 財産を売り払う契約を締結する場合において、売却代金が即納されるとき。
(6) 随意契約を締結する場合において、契約金額が少額であり、かつ、契約者が契約を履行しないこととなるおそれがないと認められるとき。
(7) 契約金額が300万円未満の契約を締結したとき。
2 前項に規定する契約保証金の納付は、次に掲げる担保の提供をもって代えることができる。
(1) 第104条第2項各号に掲げる担保
(2) 保証事業会社(公共工事の前払金保証事業に関する法律(昭和27年法律第184号。以下「前払法」という。)第2条第4項に規定する保証事業会社をいう。以下同じ。)の保証
(契約保証金の還付)
第124条 契約保証金(その納付に代えて提供された担保を含む。)は、契約者が契約を履行したとき、又は第127条の規定による契約の解約があったときは、直ちに還付するものとする。ただし、公有財産又は物品の売払いの契約において、契約保証金を売払代金に充当することにより、売払代金が完納されることとなり、かつ、契約者が契約上のその他の義務の履行を怠るおそれがないと認めるときは、契約保証金を売払代金に充当することができる。
第125条 削除
(契約の変更等)
第126条 契約権者は、必要があると認めるときは契約者と協議し、又は契約者からその責めに帰することのできない事由により履行期限の延長の申出があったときはその内容を調査して、当該契約を変更することができる。
3 契約権者は、契約者からその責に帰すべき事由により履行期限の延長の申出があったときは、その内容を調査し、やむを得ないと認めるときは、遅延利息を付し、当該期限の延長を承認することができる。
(契約の解約)
第127条 契約権者は、契約者からその責めに帰することのできない事由により契約の解約の申出があったときは、その内容を調査し、やむを得ないと認めるときは、当該契約を解約することができる。
(契約の解除)
第128条 契約権者は、契約の履行に当たり、契約者が次の各号のいずれかに該当すると認めるときは、約定により当該契約を解除することができる。
(1) 契約の締結又は履行について不正の行為があったとき。
(2) 契約者の責めに帰すべき事由により履行期限までに給付を完了する見込みがないとき。
(3) 監督又は検査に際し、監督又は検査に携わる職員の職務の執行を妨げたとき。
(4) 前3号に掲げるもののほか、契約条項に違反する行為があったとき。
2 契約権者は、前項の規定により契約を解除しようとするときは、解除する理由を明らかにした文書をもって当該契約者にその旨を通知しなければならない。
第5節 契約の履行
(権利義務の譲渡禁止)
第129条 契約権者は、契約者をして、契約によって生ずる権利又は義務を第三者に譲渡させ、又は承継させてはならない。ただし、あらかじめその内容を明らかにして市長の承認を得たときは、この限りでない。
(一括委任又は一括下請負の禁止)
第130条 契約権者は、契約者をして、契約の履行について、その全部又は大部分を一括して第三者に委任させ、又は請け負わさせてはならない。ただし、あらかじめその内容を明らかにして、市長の承認を得たときは、この限りでない。
(部分払)
第131条 契約権者は、契約に基づく給付の既済部分又は既納部分に対しその完済又は完納前に代金の一部を支払う特約があるときは、工事、製造その他の請負契約にあってはその既済部分に対する代価の10分の9、物件の買入契約にあってはその既納部分に対する代価の範囲内において、部分払をすることができる。ただし、性質上可分の工事、製造その他の請負契約に係る完済部分にあってはその代価の全額までを支払うことができる。
2 工事の請負においては、既済部分(継続費又は債務負担行為に係る工事であって2箇年度以上にわたるものにあっては、各年度の出来高予定額に対する当該年度の工事の既済部分)が次の各号に掲げる出来高となった場合に部分払をすることができる。
(1) 次条の規定に基づく前払金を受けた工事 工事の既済部分が10分の5以上
(2) 次条の規定に基づく前払金を受けていない工事で契約金額が500万円以上の工事
ア 請負代金額が2千万円以下の工事
第1回の部分払 工事の既済部分が10分の3以上
第2回の部分払 工事の既済部分が10分の7以上
イ 請負代金額が2千万円を超える工事
第1回の部分払 工事の既済部分が10分の3以上
第2回の部分払 工事の既済部分が10分の5以上
第3回の部分払 工事の既済部分が10分の8以上
(公共工事に要する経費の前金払)
第132条 契約権者は、契約者が保証事業会社と前払法第2条第5項に規定する保証契約を締結し当該保証契約書(以下「保証証書」という。)を寄託した場合は、約定により前金払をすることができる。
2 前項の規定による前払金は、契約金額が200万円以上の契約について、1,000円を単位として支払うことができるものとする。
3 第1項の規定による前払金の額は、契約金額の10分の3以内とする。ただし、省令附則第3条第1項に規定する土木建築に関する工事にあっては10分の4以内とする。
(1) 契約金額が200万円以上であること。
(2) 工期の2分の1を経過していること。
(3) 工程表により工期の2分の1を経過するまでに実施すべきものとされている当該工事に係る作業が行われていること。
(4) 既に行われた当該工事に係る作業に要する経費が請負代金の額の2分の1以上の額に相当するものであること。
5 前2項の規定による前払金の使途の範囲は、契約権者が必要と認めた経費に限る。
6 市の歳計現金保有状況等により、前払金を減少し、又は支払わないことができる。
7 前金払をした後に設計変更等の事由により契約金額を増額しても、前金払は増額しないものとする。ただし、当該契約金額の増額が著しく多額である場合で、市長がやむを得ないと認める場合は、この限りでない。
(1) 契約者が前払金を当該公共工事以外の目的に使用したとき。
(2) 契約者がその契約義務を履行しないとき。
(3) 当該公共工事に係る契約を解約し、又は解除したとき。
第134条 削除
第6節 監督及び検査
(監督)
第135条 契約権者は、契約の適正な履行を確保するため、自ら又は職員に命じ、若しくは職員以外の者に委託して、必要な監督をしなければならない。
2 前項の規定により監督を行う者(以下「監督職員」という。)は、契約書、仕様書、設計書その他の関係書類に基づき、立会い、工程の管理、試験又は検査その他の方法により監督し、契約者に必要な指示をしなければならない。
3 監督職員は、監督をしたときは、その内容、指示した事項その他必要な事項を記録しておかなければならない。
(検査)
第136条 契約権者は、次の各号のいずれかに掲げる事由が生じたときは、自ら又は職員に命じ、若しくは職員以外の者に委託して、必要な検査をしなければならない。
(1) 契約者が給付を完了したとき。
(2) 部分払を行う必要があるとき。
(3) 物件の一部の納入があったとき。
(4) 給付の一部を使用しようとするとき。
2 前項の規定により検査を行う者(以下「検査職員」という。)は、契約書、仕様書、設計書その他の関係書類に基づき、必要に応じ当該契約に係る監督職員の立会いを求め、当該給付の内容について検査しなければならない。
3 前項の場合において、特に必要があると認めるときは、一部破壊若しくは分解又は試験をして検査を行うものとする。この場合において、検査又は復元に要する費用は当該契約者が負担する旨を契約書に明らかにしておかなければならない。
4 検査職員は、前3項の規定による検査の結果、契約の履行が不完全であると認めるときは、契約者に必要な措置をとることを求めなければならない。
(検査の立会い)
第137条 検査職員は、前条の規定により検査をしようとするときは、必要に応じ監督職員以外の職員の立会いを求めることができる。
(対価の支払い)
第139条 支出決定権者は、第136条の規定による検査に合格したものでなければ、当該契約に係る支出の手続をすることができない。
3 対価の一部について前金払又は部分払をしたものがあるときは、最終の対価の支払の際に、これを控除するものとする。
第7章 現金及び有価証券
(歳計現金の保管)
第140条 歳計現金は、会計管理者が市名義により指定金融機関に預金して保管しなければならない。
2 前項の規定にかかわらず、会計管理者において必要があると認めるときは、市長と協議して、支払のため支障とならない範囲の金額を指定金融機関以外の金融機関に預金し、又は預金以外の確実かつ有利な方法で保管することができる。
3 会計管理者は、釣銭又は両替金に充てるため必要があるときは、第1項の規定にかかわらず、必要と認める歳計現金を保管しておくことができる。
4 前2項の規定により歳計現金を保管するため小切手を振り出す場合においては、当該小切手に「保管換収支」の表示をしなければならない。
(一時借入金)
第141条 会計管理者は、一時借入金の借入れを必要と認めるときは、その旨及び借入必要額を財政担当課長に通知しなければならない。一時借入金を必要としなくなったとき、又は出納閉鎖期日において借入残額があるときもまた同様とする。
2 財政担当課長は、前項の規定により一時借入金の借入れを必要とする旨の通知を受けたときは、借入額、借入先、借入期間及び利率について会計管理者と協議の上、市長の決定を受けなければならない。これを返済する場合もまた同様とする。
3 財政担当課長は、前項の規定により一時借入金の借入れ又は返済について市長の決定を受けたときは、直ちに借入手続又は返済手続をとるとともに、その旨を会計管理者に通知しなければならない。
4 一時借入金を返済するために小切手を振り出す場合においては、当該小切手に「一時借入金返済」の表示をしなければならない。
5 財政担当課長は、一時借入金整理簿(様式第68号)を備え、一時借入金の状況を記録しなければならない。
(歳入歳出外現金等の年度及び整理区分)
第142条 歳入歳出外現金及び保管有価証券(市が保管する有価証券で市の所有に属しないものをいう。以下同じ。)(以下「歳入歳出外現金等」という。)の出納の所属年度は、現にその出納を行った日の属する年度とする。
2 歳入歳出外現金等は、次に掲げる区分により整理し、出納保管しなければならない。この場合において、特に必要があるときは、各区分に細目を設けることができる。
(1) 歳入歳出外現金
ア 保証金
(ア) 入札保証金
(イ) 契約保証金
(ウ) その他の保証金
イ 保管金
(ア) 所得税
(イ) 市町村民税及び県民税
(ウ) 職員共済組合掛金
(エ) 社会保険料
(オ) 差押物件の公売代金
(カ) 税に係る受託徴収金
(キ) 災害により被害を受けた者に対する見舞金
(ク) その他の保管金
ウ 担保金
(ア) 指定金融機関の提供した担保金
(イ) 市営住宅の敷金
(ウ) その他の担保金
(2) 保管有価証券
(歳入歳出外現金等の出納)
第143条 歳入歳出外現金等の受入れ及び払出しの手続については、この規則に別段の定めがある場合を除くほか、収入及び支出の手続の例による。
(歳入歳出外現金等の帳簿)
第144条 課長等は、次に掲げる帳簿を備え、その所掌に係る歳入歳出外現金等の状況を記録整理しなければならない。
(1) 歳入歳出外現金整理簿(様式第69号)
(2) 保管有価証券整理簿(様式第70号)
2 出納機関は、次に掲げる帳簿を備え、歳入歳出外現金等の出納を記録整理しなければならない。
(1) 歳入歳出外現金出納簿(様式第69号)
(2) 保管有価証券出納簿(様式第70号)
(歳計現金及び歳入歳出外現金の保管の記録)
第145条 出納機関は、毎日歳計現金及び歳入歳出外現金の保管の状況を収支日計表に記録しなければならない。
第8章 指定金融機関等
第1節 通則
(指定金融機関等の事務処理準則)
第146条 指定金融機関等における公金の収納又は支払の事務に関しては、法令及びこの規則によるほか、別に契約で定める。
(出納区分)
第147条 指定金融機関等における公金の出納は、歳入金、歳出金、歳入歳出外現金及び小切手支払未済繰越金に区分し、かつ、歳入金及び歳出金にあっては会計及び会計年度別に、歳入歳出外現金にあっては会計年度別にそれぞれ区分して整理しなければならない。
(印鑑届出等)
第148条 指定金融機関等は、その事務に用いる印鑑の印影を出納機関に届出しておかなければならない。
2 出納機関は、第83条の規定により届け出たものを除くほか、その使用に係る印鑑の印影のうち照合を必要とするものを指定金融機関等に届出しておかなければならない。
第2節 収納金
(現金の収納)
第149条 指定金融機関等は、納入義務者、出納機関又は収入事務取扱者(以下「納入者」という。)から納入通知書、現金等払込書又は督促状(以下「納入通知書等」という。)により現金の納付を受けたときは、これを収納し、当該納入者に領収書を交付するとともに、当該収納金を市の預金口座に受け入れ、当該納入通知書等に領収済の印を押してこれを保管しなければならない。
(口座振替による収納)
第150条 指定金融機関等は、納入義務者から口座振替の方法により納付する旨の申出を受けたときは、納入通知書等に基づき、当該申出に係る金額をその者の預金口座から市の預金口座に振り替える手続をとるとともに、当該納入義務者に領収書を交付し、当該納入通知書等に領収済の印を押してこれを保管しなければならない。
(証券による収納)
第151条 指定金融機関等は、納入通知書等により納入者から証券で納付を受けたときは、当該証券が施行令第156条第2項に該当する場合を除き、当該納入通知書等の表面余白に「証券受領」の表示をし、かつ、証券の種類、証券番号及び券面金額を付記するとともに、現金の収納の規定の例により処理しなければならない。
2 指定金融機関等は、前項の規定により証券を受領したときは、遅滞なくこれをその支払人に呈示し、支払の請求をしなければならない。
(過年度収入)
第153条 指定金融機関等は、出納閉鎖後において納入義務者から過年度の納入通知書等により現金等の納付を受けたときは、これを現年度の歳入として収納しなければならない。前条の規定による収納金で出納閉鎖後に係るものについても、また同様とする。
2 前項の収入金内訳(兼振込)票には、領収済通知書、返納済通知書、小切手不渡通知書及び繰替払調書を添付しなければならない。
第3節 支払
(小切手による支払)
第155条 指定金融機関は、会計管理者の振り出した小切手を支払のため呈示されたときは、次の各号のいずれかに該当する場合を除き、直ちに支払をしなければならない。
(1) 合式でないとき。
(2) 改ざんの跡があるとき。
(3) 汚損等により小切手の記載事項が不明りょうのとき。
(4) 第83条の規定により届出を受けた会計管理者の専用印鑑の印影と異なるとき。
(5) 振出日付から1年を経過したとき。
(6) 会計管理者から理由を付して支払停止の請求のあったとき。
2 指定金融機関は、毎日その日の小切手の支払額について、第85条第4項の規定による小切手振出済通知書と照合しなければならない。
3 第1項の小切手が振出日付後1年を経過したものであるときは、その小切手の余白に支払期間経過の旨を記入し、これを呈示した者に返付しなければならない。
(現金払)
第156条 指定金融機関は、第78条第1項に規定する窓口払通知書により現金の支払の請求を受けたときは、当該窓口払通知書に当該債権者に記名押印させた上、これと引き換えに現金を交付しなければならない。
2 指定金融機関等は、前項の規定により繰替払をしたときは、繰替払調書を作成しなければならない。
(隔地払の手続)
第158条 支払金融機関は、第79条第1項の規定により出納機関から小切手及び隔地払依頼書の送付を受けたときは、支払場所に指定された金融機関に対し、直ちに送金の手続をしなければならない。
(口座振替の手続)
第159条 支払金融機関は、第80条第1項の規定により出納機関から小切手及び総合振込依頼書の送付を受けたときは、直ちに当該債権者の預金口座に振替の手続をしなければならない。
3 支払金融機関は、第1項の規定により口座振替をしたときは、その旨を債権者に通知しなければならない。ただし、会計管理者がその必要がないと認めて指示したときは、この限りでない。
(支払未済金の整理)
第160条 指定金融機関は、毎会計年度の小切手振出済金額のうち、出納閉鎖期日までに支払を終らないものがあるときは、直ちに当該未払金額を歳出金として整理するとともに、これを小切手支払未済繰越金勘定に受け入れ、小切手振出済支払未済繰越調書(様式第73号)を作成して出納機関に送付しなければならない。
2 指定金融機関は、出納閉鎖後において、前年度の小切手の呈示を受けて支払を求められたときは、当該小切手がその振出日付から1年を経過していないものである場合に限り、前項の小切手支払未済繰越金から支払をしなければならない。
3 指定金融機関は、前項の規定により支払をしたときは、その都度出納機関に通知しなければならない。
(過誤納金の戻出)
第162条 指定金融機関は、第44条第2項の規定による「歳入還付」の表示のある小切手の呈示を受けて過誤納金の支払を求められたときは、当該収納済の歳入から戻出しなければならない。
第4節 公金振替
(公金振替の手続)
第163条 指定金融機関は、出納機関から公金振替済通知書の交付を受けたときは、直ちに振替の手続をとるとともに、公金振替済通知書を出納機関に送付しなければならない。
第5節 帳簿等及び収支報告
(指定金融機関の帳簿)
第164条 指定金融機関は、次に掲げる帳簿を備え、毎日の公金の出納を記録して整理しなければならない。
(1) 収支日計報告書(様式第76号)
(2) 収支日計表(様式第77号)
(3) 各金融機関取扱量集計表(様式第78号)
(指定代理金融機関等の帳簿)
第165条 指定代理金融機関は、次に掲げる帳簿を備え、その取扱いに係る収納及び支払を記録して整理しなければならない。
(1) 収入金内訳表(様式第72号)
(2) 支払金整理簿(様式第79号)
2 収納代理金融機関は、公金収納簿を備え、その取扱いに係る収納を記録して整理しなければならない。
(帳簿書類の保存期間)
第166条 指定金融機関等は、その取扱いに係る出納に関する帳簿書類を年度別及び会計別に区分し、年度経過後少なくとも、帳簿にあっては10年間、その他の書類にあっては5年間保存しなければならない。
(収支日計の報告)
第167条 指定金融機関は、収支日計報告書(様式第76号)を毎日調製して、翌日までに出納機関に送付しなければならない。
2 前項の収支日計報告書には、領収済通知書、返納済通知書及び公金振替済通知書を添付しなければならない。
第6節 雑則
(歳入歳出外現金の取扱い)
第168条 指定金融機関等における歳入歳出外現金の出納は、この規則に別段の定めがあるものを除くほか、歳入及び歳出の出納の例によりこれを行わなければならない。
(報告義務)
第169条 指定金融機関等は、出納機関から収支の状況その他の取扱事務に関して報告を求められたときは、遅滞なく報告しなければならない。
(出納に関する証明)
第170条 指定金融機関等は、出納機関から現金の収納及び支払又は預金の状況に関して証明を求められたときは、その証明をしなければならない。
(指定金融機関等の検査)
第171条 会計管理者は、指定金融機関等について、施行令第168条の4の規定により、毎年1回以上の定期検査を行うほか、必要があると認めるときは臨時検査をしなければならない。
2 前項の検査をするときは、あらかじめ検査期日、検査事項その他必要な事項について指定金融機関等に通知しなければならない。
3 会計管理者は、第1項の規定による検査をしたときは、速やかにその結果を市長及び監査委員に報告しなければならない。
第172条 削除
第9章 財産
第1節 公有財産
(公有財産の所管)
第173条 管財担当課長は、公有財産に関する管理の事務を総括する。
2 行政財産の管理に関する事務は、当該行政財産に係る事務を所掌する課長等が所管する。この場合において、所管区分が明確でないときは、市長の定めるところによる。
3 普通財産の管理に関する事務は、管財担当課長が所管する。ただし、特に必要があると認めるときは、市長が別に指定した課長等が所管する。
(取得前の措置)
第174条 課長等は、公有財産を取得しようとするときは、あらかじめ当該財産について必要な調査を行い、物権の設定その他特殊の義務があるときは、これを排除し、又は当該財産取得後の使用の目的を妨げないよう必要な措置を講じなければならない。
(公有財産の取得)
第175条 課長等は、公有財産を取得しようとするときは、公有財産取得決議書(様式第80号)により市長の決定を受けなければならない。
2 前項の決議書には、必要に応じて次に掲げる書類を添えなければならない。
(1) 財産評価調書
(2) 関係図面
(3) 契約書案
(4) 登記簿又は登録原簿の謄本
(5) 相手方の売渡承諾書の写し
(6) 寄附申込書
(7) 前各号に掲げるもののほか、必要な書類
(登記又は登録)
第176条 課長等は、登記又は登録を要する公有財産を取得したときは、法令の定めるところにより、遅滞なくその手続をしなければならない。
(代金の支払)
第177条 支出決定権者は、前金払をすることができる場合を除くほか、登記又は登録を要する公有財産を取得したときはその登記又は登録が完了した後、その他の公有財産を取得したときはその引渡しを受けた後でなければ、購入代金又は交換差金を支払ってはならない。
(公有財産の引継ぎ)
第178条 課長等は、他の財産管理者が管理すべき公有財産を取得したときは、当該財産の財産管理者に公有財産引継書(様式第81号)に関係図面、権利関係書類その他必要な書類を添えて、直ちに引き継がなければならない。
2 財産管理者は、前項の規定により公有財産の引継ぎを受けようとするときは、実地に立会いの上、公有財産引継書と照合し、引継ぎを受ける財産を確認して引継ぎを受けなければならない。
3 前2項の規定は、公有財産の所管換え(財産管理者の間において公有財産の所管を移すことをいう。以下同じ。)の場合に準用する。
(公有財産の管理)
第179条 財産管理者は、その所管に属する公有財産について、常にその現況を把握し、次に掲げる事項に留意して管理しなければならない。
(1) 公有財産の維持、保全及び利用の状況
(2) 使用料又は貸付料の適否
(3) 土地の境界
(4) 公有財産の増減及びその証拠書類
(5) 公有財産の現況と登記簿又は登録簿、公有財産台帳及び関係図面との照合
(公有財産管理事務の事前合議)
第180条 財産管理者は、次に掲げる事項については、あらかじめ、管財担当課長に合議しなければならない。
(1) 公有財産の所管換え及び分類替え(普通財産を行政財産とすることをいう。以下同じ。)に関すること。
(2) 行政財産(教育財産を除く。本条において同じ。)の用途の変更及び廃止に関すること。
(3) 行政財産の使用許可(許可期間が3日以内のものを除く。)に関すること。
(4) 普通財産の貸付けの決定及び貸付契約の変更に関すること。
(5) 行政財産である土地の貸付け及びこれに地上権を設定することに関すること。
(6) 普通財産の交換、譲与及び譲渡に関すること。
(7) 普通財産である土地(その土地の定着物を含む。)の信託に関すること。
(損害保険)
第181条 建物、船舶、山林等については、その経済性を考慮して適当な保険に加入するものとする。
2 前項に規定する損害保険に関する事務は、管財担当課長が行うものとする。
(土地の境界の確定)
第182条 財産管理者は、その所管に属する市有地で、境界が明らかでないものがあるときは、隣接地の所有者と協議してその境界を確定し、境界確定書(様式第82号)を取り交わすとともに、境界標柱を設置しなければならない。
2 前項の規定は、新たに土地を取得した場合又は土地の境界に変更があった場合に準用する。
(所管換え及び分類替え)
第183条 財産管理者は、その所管に属する公有財産について、所管換え又は分類替えをしようとするときは、市長の決定を受けなければならない。
(行政財産の用途の変更及び廃止)
第184条 財産管理者(教育財産の財産管理者を除く。)は、その所管に属する行政財産の用途を変更し、又は廃止しようとするときは、行政財産用途変更(廃止)決議書(様式第83号)に関係書類及び関係図面を添えて、市長の決定を受けなければならない。
(行政財産の使用許可)
第185条 法第238条の4第7項の規定により、行政財産の使用を許可することができる場合は、次の各号のいずれかに該当する場合に限るものとする。
(1) 職員及び当該行政財産を利用する者のため、食堂、売店その他厚生施設の用に供する場合
(2) 学術調査、研究、体育活動その他の公益目的のために行われる講演会、研究会、運動会等の用に短期間供する場合
(3) 国、他の地方公共団体その他公共団体又は公共的団体において、公用若しくは公共用又は公益を目的とする事業の用に供する場合
(4) 災害その他の緊急事態の発生により、応急施設として短期間使用させる場合
(5) 前各号に掲げるもののほか、市長が特に必要があると認める場合
2 行政財産の使用許可の期間は、原則として1年を超えることができない。ただし、更新を妨げない。
(使用許可の手続)
第186条 財産管理者(教育財産の財産管理者を除く。本条において同じ。)は、行政財産の使用許可を受けようとする者があるときは、その者から行政財産使用許可申請書(様式第85号)を提出させなければならない。
3 前項の規定にかかわらず、許可期間が3日以内の行政財産の使用許可については、財産管理者においてその決定をすることができる。
4 財産管理者は、行政財産の使用許可が決定されたときは、行政財産使用許可書(様式第87号)を申請者に交付しなければならない。
(教育財産の使用許可等の協議)
第187条 法第238条の2第2項の規定により、教育委員会が教育財産である土地の貸付け若しくはこれに対する地上権の設定又は教育財産の使用許可であらかじめ市長に協議しなければならない事項は、次に掲げるもの以外のものとする。
(1) 第185条第1項第1号、第2号及び第4号に掲げる事由により行う使用許可
(2) 前号に掲げるもののほか、市長が別に指定する事項
(1) 建物の所有を目的として、土地及び土地の定着物(建物を除く。以下同じ。)を貸し付けるとき 30年
(2) 植樹を目的として、土地及び土地の定着物を貸し付けるとき 20年
(3) 前各号の場合を除くほか、土地及び土地の定着物を貸し付けるとき 5年
(4) 建物を貸し付けるとき 5年
(5) 建物以外の物件を貸し付けるとき 5年
(普通財産の貸付料)
第189条 財産管理者は、普通財産を貸し付けた場合は、次に掲げるところにより算出した額の貸付料を徴収しなければならない。ただし、市長が特に必要があると認めるものの貸付料の額の算出については、別に定めるところによる。
(1) 土地貸付料(年額) 使用面積1平方メートルにつき1平方メートル当たりの公有財産台帳価格に、100分の5.0を乗じて得た額。ただし、貸付期間が1月未満の一時的な使用で、かつ、営利を目的とする使用の場合については、当該価格に100分の8.0を乗じて得た額
(2) 建物貸付料(年額) 使用面積1平方メートルにつき1平方メートル当たりの公有財産台帳価格に100分の10.34を乗じて得た額に、建物敷地の使用面積1平方メートルにつき1平方メートル当たりの公有財産台帳価格に100分の1.54を乗じて得た額を加算した額
2 前項の場合において、使用面積が1平方メートル未満であるとき、又はその面積に1平方メートル未満の端数があるときは、1平方メートルとして貸付料の額を計算する。
3 第1項の場合において、使用期間が1年未満であるとき、又はその期間に1年未満の端数があるときは月割をもって計算し、なお、その期間が1月未満であるとき、又はその期間に1月未満の端数があるときは日割をもって貸付料の額を計算する。
5 普通財産の貸付料は、毎年度定期にこれを納めさせるものとする。ただし、数年分を前納させることを妨げない。
(普通財産の貸付けの手続)
第190条 財産管理者は、普通財産の貸付け(貸付期間の更新を含む。以下同じ。)を受けようとする者があるときは、その者から普通財産貸付申請書(様式第88号)を提出させなければならない。
2 前項に規定する申請書には、利用計画書その他必要な書類を添えさせなければならない。
4 普通財産の貸付契約書には、次に掲げる事項を記載するものとする。
(1) 借受人の住所及び氏名
(2) 貸付財産の明細
(3) 借受けの目的
(4) 貸付期間
(5) 貸付料の額
(6) 貸付料の納入方法及び納入時期
(7) 貸付けの条件
(8) 契約の解除に関する事項
(9) 前各号に掲げるもののほか、必要と認める事項
(貸付けの担保)
第191条 財産管理者は、普通財産の貸付けに当たり必要があると認めるときは、借受人に相当の担保を提供させ、又は確実な保証人を立てさせなければならない。
(普通財産の交換)
第194条 財産管理者は、普通財産を交換しようとするときは、普通財産交換決議書(様式第90号)により、市長の決定を受けなければならない。
2 前項に規定する決議書には、次に掲げる書類を添えなければならない。
(1) 関係図面
(2) 契約書案
(3) 取得しようとする財産の登記簿謄本又は登録原簿謄本
(4) 相手方の交換承諾書
3 財産管理者は、交換に係る普通財産をその相手方に引き渡したときは、受領書を徴しなければならない。
(普通財産の売却又は譲与)
第195条 財産管理者は、普通財産を売却し、又は譲与しようとするときは、普通財産売却(譲与)決議書(様式第91号)に関係図面及び契約書案を添えて、市長の決定を受けなければならない。
2 前条第3項の規定は、売却又は譲与に係る普通財産の引渡しをする場合に準用する。
(信託)
第196条 財産管理者は、普通財産である土地(その土地の定着物を含む。)を信託(信託期間の更新を含む。以下同じ。)しようとするときは、公有地信託決議書(様式第92号)に信託の事業計画書、信託の資金計画書、関係図面及び契約書案を添えて、市長の決定を受けなければならない。
(売払代金等の延納)
第197条 財産管理者は、普通財産の売払代金又は交換差金を延納しようとする者があるときは、その者から売払代金(交換差金)延納申請書(様式第93号)を提出させなければならない。
2 前項の規定による申請があった場合において、施行令第169条の4第2項の規定により、普通財産の売払代金又は交換差金の延納の特約をするときは、次に掲げる担保を提供させ、かつ、未払金額について国、他の地方公共団体その他公共団体であって、かつ、当該財産を営利又は収益を目的としない用途に供する場合にあっては年6.2パーセント、その他にあっては年7.3パーセントの延納利息を付すものとする。ただし、特別な事情があると認めるときは、年7.3パーセント以内の利率により計算した額とすることができる。
(1) 国債又は地方債
(2) 市長が確実と認める社債その他の有価証券
(3) 土地又は保険に付した建物、船舶、自動車若しくは建設機械
(4) 市長が確実と認める金融機関その他の保証人の保証
(延納担保の保全等)
第198条 財産管理者は、前条の規定により担保の提供があったときは、速やかに担保権の設定について登記、登録その他第三者に対抗できる要件を備えるために必要な措置をし、又は保証人と保証契約を締結しなければならない。
2 財産管理者は、担保の価値が減少し、又は保証人を不適当とする事情が生じたときは、増担保の提供、保証人の変更その他担保の変更を求めなければならない。
(普通財産の取壊し)
第199条 財産管理者は、普通財産の取壊しを必要とするときは、普通財産取壊決議書(様式第94号)により、市長の決定を受けなければならない。
2 前項に規定する決議書には、関係図面を添えなければならない。
3 前2項の規定は、立木の伐採等について準用する。
(公有財産台帳等の調整)
第200条 管財担当部長は、行政財産及び普通財産の分類に従い、公有財産台帳(様式第95号)を備えて記録し、常に公有財産の状況を明らかにしておかなければならない。
2 財産管理者は、その所管に属する公有財産につき、公有財産台帳副本(様式第95号)を備えて記録し、異動の状況を明らかにしておかなければならない。
4 公有財産台帳及び公有財産台帳副本には、土地については地図等の写し、建物については平面図等、法第238条第1項第4号及び第8号の権利については適当な図面を付しておかなければならない。
5 前項の台帳及び台帳副本の全部又は一部の備付けを電磁的記録によって行うことができる。
6 財産管理者は、行政財産使用許可決議書をとじ合わせ行政財産使用許可簿として、普通財産貸付決議書をとじ合わせ普通財産貸付簿として整理し、公有財産の使用及び貸付けの状況を明らかにしておかなければならない。
(公有財産の異動の報告)
第201条 財産管理者は、その所管に属する公有財産について異動があったときは、その都度、公有財産台帳副本を整理するとともに、その旨を管財担当部長に報告しなければならない。
2 管財担当部長は、前項の規定により報告があったときは、速やかに公有財産台帳を整理しなければならない。
(1) 土地 類地の時価を考慮して算定した金額
(2) 建物、工作物及び船舶その他の動産 建築費又は製造費。ただし、建築費又は製造費によることが困難なものは、見積価格
(3) 立木 その材積に単価を乗じて算定した金額。ただし、庭木その他材積を基準として算定することが困難なものは、見積価格
(4) 法第238条第1項第4号又は第5号に掲げる権利 取得価格。ただし、取得価格によることが困難なものは、見積価格
(5) 法第238条第1項第6号に掲げる財産 無額面株式にあっては発行価格。その他のものについては額面金額
(6) 出資による権利 出資又は出えんの金額
(7) 財産の信託の受益権 当該受益権の取得時における信託財産の評価価格
(台帳価格の改定)
第203条 財産管理者は、その所管に属する公有財産につき3年ごとにその年の3月31日の現況においてこれを評価し、その評価額により公有財産の台帳価格を改定しなければならない。ただし、法第238条第1項第6号から第8号までに掲げるものその他価格を改定することが適当でないものについては、この限りでない。
(会計管理者への現況報告)
第204条 管財担当部長は、毎年3月31日現在の公有財産の状況について、翌年度の5月10日までに会計管理者に報告しなければならない。
第2節 物品
(物品の所管)
第205条 物品の管理に関する事務は、当該物品に係る事務を所掌する課長等が所管する。
(物品の分類)
第206条 物品は、別表第5に定めるところにより分類する。
2 前項の規定にかかわらず、取得金額が3万円未満の物品(ただし、供用物品(職員用机、椅子、ロッカー)、公印を除く)は消耗品とする。
3 物品のうち、地方自治法施行規則第16条の2に規定する財産に関する調書の物品の項に記載される重要な物品(以下「重要物品」という。)は、取得価格(生産、寄附等に係るものについては、評価額)が、200万円以上のものとする。ただし、動物は除く。
(物品の所属年度区分)
第207条 物品の受入れ及び払出し(以下「物品の出納」という。)は、会計別に会計年度をもって区分し、その所属年度は、現にその受入れ又は払出しを行った日の属する年度とする。
(物品の出納の通知)
第208条 課長等は、物品の出納の必要があるときは、物品受入伺書(様式第96号)により、出納機関に対し物品の出納の通知をしなければならない。ただし、次に掲げる物品については、当該物品に係る支出負担行為に関する決議票を出納機関に回付することにより出納通知に代えることができる。
(1) 官報、県公報、市公報、新聞、雑誌その他これらに類するもの
(2) 受入れ後直ちに払出しするもの
(3) 配布又は贈与の目的をもつ印刷物等で保存の必要のないもの
(4) 前3号に掲げるものを除くほか、物品の目的又は性質により出納機関の保管を要しないもの
(所管換え)
第209条 物品管理者は、その所管に属する物品について所管換え(物品管理者の間において物品の所管を移すことをいう。以下同じ。)をしようとするときは、当該所管換えに係る物品を受け入れる物品管理者と協議の上、物品所管換伺書(様式第97号)により決定しなければならない。
2 物品管理者は、前項の規定により所管換えを決定したときは、物品所管換伺書により出納機関に対し物品の出納の通知をしなければならない。
(物品の返納)
第210条 物品管理者は、払出しを受けた物品について使用の必要がなくなったときは、物品所管換伺書により、直ちに出納機関に返納しなければならない。
(分類替え)
第211条 物品管理者は、その所管に属する物品について必要があるときは、物品分類換伺書(様式第98号)により、分類替え(物品をその属する分類から他の分類に移すことをいう。以下同じ。)をすることができる。
2 物品管理者は、前項の規定により分類替えをしたときは、物品分類換伺書により出納機関に通知しなければならない。
(不用の決定等)
第212条 物品管理者は、次に掲げる物品があるときは、物品不用決定伺書(様式第99号)により不用の決定をし、廃棄、売却、譲与その他の処分をしなければならない。
(1) 市において不用となったもの
(2) 修繕しても使用に耐えないもの
(3) 修繕をすることが不利と認められるもの
2 物品管理者は、前項の規定による決定があったときは、物品不用決定伺書により出納機関に対し物品の出納の通知をしなければならない。
(物品の出納の記録)
第213条 出納機関は、物品受入伺書、物品所管換伺書及び物品不用決定伺書をとじ合わせ物品出納簿として整理しなければならない。この場合において、物品の整理区分は別表第6に定めるところによる。
(保管の原則)
第214条 物品は、常に良好な状態で保管しなければならない。
2 出納機関は、市において保管することが不適当と認める物品があるときは、保管が確実と認められる市以外の者にその保管を委託することができる。
2 物品管理者は、物品を貸し付けたときは、当該物品の借受人から物品借用書(様式第103号)を徴さなければならない。
3 物品貸付料の額は、別に定めるところによる。
4 物品の貸付期間は、1月を超えてはならない。ただし、特別な事由があるときは、この限りでない。
5 前各号の規定にかかわらず、貸付けを目的とする物品については、別に定めるところによる。
(重要物品)
第216条 物品管理者は、その所管に属する重要物品について、毎年3月31日現在の状況を調査し、重要物品現在高通知書(様式第104号)により、翌年度の5月10日までに会計管理者に通知しなければならない。
(物品一覧及び標識)
第217条 物品管理者は、その所管に属する備品及び動物につき、物品一覧(様式第105号)を備えて記録し、常にその状況を明らかにしておかなければならない。(図書館及び学校において独自のシステムにより管理しているものを除く)
2 物品管理者は、別に定めるところにより、その所管に属する備品に標識を付さなければならない。ただし、その性質、形状等により標識を付することに適しないものについては、適当な方法によりこれを表示することができる。
第3節 債権
(債権の所管等)
第218条 債権の管理に関する事務は、当該債権に係る事務を所掌する課長等が所管する。
2 法第240条第4項各号に掲げる債権については、この節の規定は適用しない。
(保全及び取立て)
第219条 債権管理者は、その所管に属する債権について、施行令第171条の2から第171条の4までの規定に基づきその保全又は取立ての措置をとる必要があると認めるときは、市長の決定を受けなければならない。ただし、施行令第171条の4第1項の規定により債権の申出をするときは、市長の決定を待たずに行うことができる。
2 債権管理者は、施行令第171条の2第1号の規定により、保証人に対して履行の請求をする場合においては、次に掲げる事項を明らかにした保証債務履行請求書(様式第106号)に納入通知書を添えて、これをしなければならない。
(1) 保証人及び債務者の住所及び氏名又は名称
(2) 債権金額
(3) 履行の請求をする理由
(4) 弁済の充当の順序その他必要な事項
3 債権管理者は、施行令第171条の3の規定により履行期限の繰上げをすべきものがあるときは、履行期限を繰り上げる旨及びその理由その他必要な事項を明らかにした履行期限繰上通知書(様式第107号)に納入通知書を添えて、債務者に通知しなければならない。
4 法令又は契約に別段の定めがある場合を除くほか、施行令第171条の4第2項の規定により担保の提供を求める場合の担保の種類は、第197条第2項各号に掲げるものとし、担保の保全等については、第198条の規定を準用する。
(徴収停止の手続)
第220条 債権管理者は、施行令第171条の5の規定により徴収停止の措置をとる場合は、徴収停止決議書(様式第108号)により、市長の決定を受けなければならない。
(履行延期の特約等の手続)
第221条 施行令第171条の6の規定による履行延期の特約等は、債務者からの履行延期申請書(様式第110号)に基づいて行うものとする。
2 債権管理者は、債務者から前項の規定による申請書の提出があったときは、その内容を審査し、市長の決定を受け、その旨を債務者に通知しなければならない。
3 債権管理者は、履行延期の特約等をする場合で債権の保全上必要があると認めるときは、必要な条件を付することができる。
4 債権管理者は、履行延期の特約等をする場合は、担保を提供させ、かつ、利息を付するものとする。ただし、施行令第171条の6第1項第1号に該当する場合その他特別の事情のある場合は、この限りでない。
(免除の手続)
第222条 施行令第171条の7の規定による債権の免除は、債務者からの債務免除申請書(様式第111号)に基づいて行うものとする。
2 債権管理者は、債務者から前項の規定による申請書の提出があったときは、その内容を審査し、市長の決定を受け、その旨を債務者に通知しなければならない。
(債権管理簿の調製等)
第223条 債権管理者は、その所管に属すべき債権が発生し、若しくは帰属したとき、又は債権の管理に関する事務の処理上必要な措置をとったときは、その都度遅滞なくその内容を帳簿等に記載しておかなければならない。
3 前項に規定する未調定債権管理簿に記載した債権について収入の調定をしたときは、直ちに、その旨を未調定債権管理簿に記録し、整理しなければならない。
(未調定債権の通知)
第224条 債権管理者は、その所管に属する未調定債権について、毎年3月31日現在の状況を調査し、未調定債権現在額通知書(様式第113号)により、翌年度の5月10日までに会計管理者に通知しなければならない。
第4節 基金
(基金の所管等)
第225条 基金の管理に関する事務は、財政担当課長が所管する。ただし、特に必要があると認めるときは、市長が別に指定した課長等が所管する。
2 基金管理者は、その所管に属する基金について基金管理簿(様式第114号)を備え、その状況を明らかにしておかなければならない。
(会計管理者への現況報告)
第226条 基金管理者は、その所管に属する基金について、毎年3月31日現在の状況を調査し、基金現在高通知書(様式第115号)により、翌年度の5月10日までに会計管理者に通知しなければならない。
(基金の運用状況を示す書類)
第227条 基金管理者は、その所管に属する基金のうち特定の目的のために定額の資金を運用するためのものについて、毎年度基金運用状況報告書(様式第116号)を作成し、これを翌年度の6月30日までに財政担当課長に提出しなければならない。
(手続の準用)
第228条 基金の管理及び処分の手続については、この節に定めるもののほか、基金に属する財産の種類に応じ、収入若しくは支出、歳計現金の出納若しくは保管、公有財産若しくは物品の取得、管理若しくは処分又は債権の管理の手続の例による。
第10章 職員の賠償責任
(1) 法第243条の2の8第1項第1号から第3号までに掲げる行為 当該行為をする権限のある者からその事務の一部を処理することを命ぜられた職員で、主査(主査に相当する職にある者を含む。)以上の職にある者
(2) 監督又は検査 監督又は検査を命ぜられた職員
(賠償命令)
第231条 市長は、法第243条の2の8第3項の規定による監査委員の賠償額の決定があったときは、当該決定のあった日から10日以内に、当該職員に対し、賠償額、賠償の方法及び支払の期限を定め、文書をもって賠償を命ずるものとする。
第11章 雑則
(起債台帳等)
第232条 財政担当課長は、次に掲げる台帳を備え、所定の事項を記載して整理しなければならない。
(1) 起債親(子)償還台帳(様式第118号)
(2) 債務負担行為台帳(様式第119号)
(金額の表示)
第233条 納入通知書、現金等払込書、返納通知書、領収書、収納金通知書、支出命令書、支出負担行為兼支出命令書、公金振替済通知書、その他金銭の収支に関して証拠となるべき書類(以下「証拠書類」という。)の金額の表示には、アラビヤ数字を用い、首標金額の頭初に「¥」の記号を併記しなければならない。ただし、縦書きの場合は、漢数字を用い、首標金額の頭初に「金」の文字を併記するものとする。
2 前項ただし書の規定により漢数字を用いる場合においては、「一」、「二」、「三」及び「十」の数字は、それぞれ「壱」、「弐」、「参」及び「拾」の字体を用いなければならない。
(誤記の訂正)
第234条 証拠書類の記載事項を訂正するときは、当該部分に二線を引き、押印し、その上側又は右側に正書しなければならない。
2 前項の規定にかかわらず、首標金額は、これを訂正してはならない。
(割り印)
第235条 数葉をもって1通とする見積書、契約書及び請書には、債権者又は当事者の印による割り印がなければならない。
(鉛筆等の使用禁止)
第236条 証拠書類の記載には、鉛筆その他その用具によりなされた表示が永続きしないもの又は容易に消すことができるものを使用してはならない。
(原本による原則)
第237条 証拠書類は、原本に限る。ただし、原本により難いときは、収入決定権者又は支出決定権者が原本と相異ない旨を証明した謄本をもってこれに代えることができる。
附則
(施行期日)
1 この規則は、平成17年3月22日から施行する。
(経過措置)
2 この規則の施行の日の前日までに、合併前の本荘市財務規則(昭和41年本荘市規則第16号)、矢島町財務規則(平成11年矢島町規則第6号)、岩城町財務規則(平成5年岩城町規則第2号)、由利町財務規則(平成元年由利町規則第10号)、大内町財務規則(平成10年大内町規則第6号)、東由利町財務規則(平成5年東由利町規則第14号)、西目町財務規則(平成5年西目町規則第5号)又は鳥海町財務規則(平成14年鳥海町規則第19号)の規定によりなされた処分、手続その他の行為は、それぞれこの規則の相当規定によりなされたものとみなす。
附則(平成17年3月22日規則第192号)
この規則は、平成17年3月22日から施行する。
附則(平成17年6月30日規則第206号)
この規則は、平成17年7月1日から施行する。
附則(平成17年12月1日規則第226号)
この規則は、公布の日から施行する。
附則(平成18年3月31日規則第26号)
この規則は、平成18年4月1日から施行する。
附則(平成18年4月3日規則第38号)
この規則は、公布の日から施行し、平成18年4月1日から適用する。
附則(平成19年3月30日規則第15号)
この規則は、平成19年4月1日から施行する。
附則(平成20年3月31日規則第14号)
この規則は、平成20年4月1日から施行する。
附則(平成20年6月10日規則第23号)
この規則は、公布の日から施行し、平成20年6月1日から適用する。
附則(平成20年7月31日規則第30号)
この規則は、平成20年8月1日から施行する。
附則(平成21年3月24日規則第5号)
この規則は、平成21年4月1日から施行する。
附則(平成21年6月24日規則第22号)
この規則は、平成21年7月1日から施行する。
附則(平成22年3月30日規則第11号)
この規則は、平成22年4月1日から施行する。
附則(平成22年10月12日規則第30号)
この規則は、平成22年11月1日から施行する。
附則(平成23年1月7日規則第1号)
この規則は、公布の日から施行し、平成22年12月1日から適用する。
附則(平成23年3月31日規則第15号)
この規則は、平成23年4月1日から施行する。
附則(平成24年3月30日規則第10号)
この規則は、平成24年4月1日から施行する。
附則(平成25年3月29日規則第18号)
この規則は、平成25年4月1日から施行する。
附則(平成26年6月30日規則第24号)
この規則は、平成26年7月1日から施行する。
附則(平成27年10月20日規則第43号)
この規則は、平成27年11月1日から施行する。
附則(平成28年3月31日規則第25号)
この規則は、平成28年4月1日から施行する。
附則(平成29年3月31日規則第8号)
この規則は、平成29年4月1日から施行する。
附則(平成29年5月31日規則第23号)
この規則は、平成29年6月1日から施行する。
附則(平成30年3月30日規則第18号)
この規則は、平成30年4月1日から施行する。
附則(平成30年5月1日規則第25号)
この規則は、公布の日から施行し、平成30年4月1日から適用する。
附則(平成30年10月26日規則第38号)
この規則は、平成30年11月1日から施行する。
附則(令和2年3月25日規則第11号)
この規則は、令和2年4月1日から施行する。
附則(令和2年3月31日規則第22号)
この規則は、令和2年4月1日から施行する。
附則(令和3年3月31日規則第19号)
この規則は、令和3年4月1日から施行する。
附則(令和3年9月28日規則第37号)
この規則は、令和3年10月1日から施行する。
附則(令和3年12月24日規則第48号)
この規則は、令和4年1月4日から施行する。
附則(令和4年3月24日規則第7号)
この規則は、令和4年4月1日から施行する。
附則(令和4年3月31日規則第17号)
この規則は、令和4年4月1日から施行する。
附則(令和5年1月25日規則第1号)
この規則は、公布の日から施行する。
附則(令和5年3月31日規則第19号)
この規則は、令和5年4月1日から施行する。
附則(令和6年3月29日規則第29号)
この規則は、令和6年4月1日から施行する。
附則(令和6年12月27日規則第51号)
この規則は、令和7年1月1日から施行する。
附則(令和7年4月1日規則第26号)
この規則は、令和7年4月1日から施行する。
別表第1(第3条関係)
財務関係事務専決区分
1 収入及び支出事務等に関すること
専決事項 | 専決区分 | 合議 | |||||
副市長 | 財政担当部長 | 部長等 | 課長等 | 財政担当課長 | |||
歳出予算の配当 | (専決) すべての事項 | ||||||
歳出予算の流用 | |||||||
需用費 | (専決) すべての事項 ※1 | ||||||
上記以外 | (専決) すべての事項 | ||||||
予備費の充用 | (専決) すべての事項 | ||||||
収入科目及び支出科目の更正命令 | (専決) すべての事項 | ||||||
収入の調定及び収入命令 | 1件5,000万円以上 | 1件100万円以上5,000万円未満 | 1件10万円以上100万円未満(国県補助金その他の交付金及び財産売払いに係るものを除く。) | 1件10万円未満(国県補助金その他の交付金及び財産売払いに係るものを除く。) | 1件100万円以上 | ||
基金から生ずる利子の一般会計への繰入れ | 全額 | ||||||
納税通知書及び納入通知書 | すべての事項 | ||||||
市税及び税外諸収入金の減免 | 課長専決事項以外すべての事項 | 使用料の減免 | |||||
過誤納金の還付及び充当 | 1件10万円以上 | 1件10万円未満 | |||||
国県等の補助金交付申請及び精算 | すべての事項 | すべての事項 | |||||
国県等の補助金の請求 | (専決) すべての事項 | ||||||
補助金の交付決定 | 1件100万円以上 | 1件100万円未満 | すべての事項 | ||||
補助金の実績報告書 | 1件50万円以上 | 1件50万円未満 | 1件50万円以上 | ||||
歳入歳出外現金の収支命令(更正命令を含む。) | 全額 | ||||||
支出負担行為伺、支出命令 | |||||||
1 報酬 | 全額 | ||||||
2 給料 | 全額 | ||||||
3 職員手当等 | |||||||
4 共済費 | |||||||
5 災害補償費 | 1件200万円以上 | 1件100万円以上200万円未満 | 1件10万円以上100万円未満 | 1件10万円未満 | |||
6 恩給及び退職年金 | |||||||
7 報償費 | 1件200万円以上 | 1件100万円以上200万円未満 | 1件10万円以上100万円未満 | 1件10万円未満 | |||
8 旅費 | 全額 | ||||||
9 交際費 | 1件100万円以上 | 1件10万円以上100万円未満 | 1件10万円未満 | ||||
10 需用費 | 光熱水費 | 全額 | |||||
食糧費 | 1件100万円以上 | 1件5万円以上100万円未満 | 1件5万円未満 | ||||
法規類追録代金、官報、新聞、雑誌等定期刊行物 | 全額 | ||||||
修繕料 | 1件200万円以上 | 1件150万円以上200万円未満 | 1件10万円以上150万円未満 | 1件10万円未満 | |||
その他 | 1件200万円以上 | 1件100万円以上200万円未満 | 1件10万円以上100万円未満 | 1件10万円未満 | |||
11 役務費 | 電話料、郵便料、公債取扱手数料、保険料 | 全額 | |||||
その他 | 1件200万円以上 | 1件100万円以上200万円未満 | 1件10万円以上100万円未満 | 1件10万円未満 | |||
12 委託料 | 年度間契約をしているもの | 1件10万円以上 | 1件10万円未満 | ||||
施設入所措置費 | 全額 | ||||||
その他 | 1件200万円以上 (工事及び除排雪に係るものは、工事請負費に同じ) | 1件100万円以上200万円未満 (工事及び除排雪に係るものは、工事請負費に同じ) | 1件10万円以上100万円未満 (工事及び除排雪に係るものは、工事請負費に同じ) | 1件10万円未満 (工事及び除排雪に係るものは、工事請負費に同じ) | 1件100万円以上 (工事及び除排雪に係るものは、工事請負費に同じ)※2 | ||
13 使用料及び賃借料 | 賃貸借契約に基づく賃貸借料 | 全額 | |||||
下水道使用料 | 全額 | ||||||
その他 | 1件200万円以上 | 1件100万円以上200万円未満 | 1件10万円以上100万円未満 | 1件10万円未満 | |||
14 工事請負費 | 1件2,000万円以上 | 1件1,000万円以上2,000万円未満 | 1件50万円以上1,000万円未満 | 1件50万円未満 | 1件200万円以上 ※2 | ||
15 原材料費 | 1件200万円以上 | 1件100万円以上200万円未満 | 1件10万円以上100万円未満 | 1件10万円未満 | |||
16 公有財産購入費 | |||||||
17 備品購入費 | |||||||
18 負担金補助及び交付金 | |||||||
高齢者の医療の確保に関する法律、国民健康保険法に基づく拠出金医療給付費 | 全額 | ||||||
19 扶助費 | 福祉関係法等に基づく扶助費 | 全額 | |||||
その他 | 1件200万円以上 | 1件100万円以上200万円未満 | 1件10万円以上100万円未満 | 1件10万円未満 | |||
20 貸付金 | 1件200万円以上 | 1件100万円以上200万円未満 | 1件10万円以上100万円未満 | 1件10万円未満 | |||
21 補償、補填及び賠償金 | |||||||
22 償還金利子及び割引料 | |||||||
23 投資及び出資金 | |||||||
24 積立金 | |||||||
25 寄附金 | |||||||
26 公課費 | 全額 | ||||||
27 繰出金 | |||||||
2 契約等の事務に関すること
専決事項 | 専決区分 | 合議 | |||||
副市長 | 契約担当部長 | 部長等 | 課長等 | 財政担当部長 | 財政担当課長 | ||
工事関係(工事及び除排雪に係る委託を含む) | 工事の起工 | 設計金額が2,000万円以上3,000万円未満 | 設計金額が1,000万円以上2,000万円未満 | 設計金額が50万円以上1,000万円未満 | 設計金額が50万円未満 | 設計金額が1,000万円以上 | 設計金額が200万円以上※2 |
指名業者の決定 | 設計金額が50万円以上のものについては別に定める | 設計金額が50万円未満 | |||||
契約の締結 | 設計金額が2,000万円以上3,000万円未満 | 設計金額が1,000万円以上2,000万円未満 | 設計金額が50万円以上1,000万円未満 | 設計金額が50万円未満 | 設計金額が1,000万円以上 | 設計金額が200万円以上※2 | |
契約の変更 | 当初の設計金額又は変更後の設計金額が2,000万円以上3,000万円未満 | 当初の設計金額又は変更後の設計金額が1,000万円以上2,000万円未満 | 当初の設計金額又は変更後の設計金額が50万円以上1,000万円未満 | 当初の設計金額又は変更後の設計金額が50万円未満 | 当初の設計金額又は変更後の設計金額が1,000万円以上 | 当初の設計金額又は変更後の設計金額が200万円以上※2 | |
工事の検査命令 | 当初の設計金額又は変更後の設計金額が2,000万円以上3,000万円未満 | 当初の設計金額又は変更後の設計金額が1,000万円以上2,000万円未満 | 当初の設計金額又は変更後の設計金額が50万円以上1,000万円未満 | 当初の設計金額又は変更後の設計金額が50万円未満 | 当初の設計金額又は変更後の設計金額が1,000万円以上 | ||
工事の検査 | 当初の設計金額又は変更後の設計金額が1,000万円以上 | 当初の設計金額又は変更後の設計金額が1,000万円以上(工事及び除排雪に係る委託に限る。) | (契約検査課長)当初の設計金額又は変更後の設計金額が1,000万円未満 | ||||
物品購入、委託、賃貸借その他 | 購入及び委託の方法及び契約締結 | 購入等予定金額が200万円以上 | 購入等予定金額が100万円以上200万円未満 | 購入等予定金額が10万円以上100万円未満 | 購入等予定金額が10万円未満 | 購入等予定金額が100万円以上 | 随意契約に係るもの以外※2 |
修繕の方法及び契約締結 | 当初の設計金額又は変更後の設計金額が200万円以上 | 当初の設計金額又は変更後の設計金額が150万円以上200万円未満 | 当初の設計金額又は変更後の設計金額が10万円以上150万円未満 | 当初の設計金額又は変更後の設計金額が10万円未満 | 当初の設計金額又は変更後の設計金額が150万円以上 | 随意契約に係るもの以外※2 | |
賃貸借契約(賃貸借契約期間の支払総額が1件につき) | 契約予定金額が200万円以上 | 契約予定金額が100万円以上200万円未満 | 契約予定金額が10万円以上100万円未満 | 契約予定金額が10万円未満 | 契約予定金額が100万円以上 | 随意契約に係るもの以外※2 | |
指名業者の決定 | 設計金額が10万円以上のものについては、別に定める | 設計金額が10万円未満 | |||||
備考
1 継続費、長期継続契約又は債務負担行為に基づく支出負担行為済のものの歳出予算に基づく支出負担行為の専決区分は、当該行為に係る契約金額による。
2 支出負担行為の額を変更する場合の専決区分は、当該変更後の金額による。
3 支出負担行為伺、支出命令については、総合支所において起案されたもので専決区分が財政担当部長以上のものは、部長等の決裁を必要としない。
4 建物の建築その他の工事を分割して契約する場合の支出負担行為の専決区分は、当該工事の分割がないものとした場合の金額による。
5 2 契約等の事務に関することの項中、工事の起工については、総合支所で起工する設計金額が500万円以上のものにあっては、本庁担当部長との協議を必要とする。
工事の検査については、工事及び除排雪に係る委託にあっては、「契約検査課長」とあるのは「課長等」とする。
6 物品購入、委託その他の検査命令は、当該契約締結の専決区分に準ずる。
※1 総合支所においては、市民サービス課長と読み替えて適用する。
※2 総合支所においては、市民サービス課長と読み替えて適用する。ただし、副市長又は財政担当部長、契約担当部長の専決事務である場合は、財政担当課長の合議を必要とする。
別表第2(第53条、第54条関係)
支出負担行為整理区分(甲)
節区分等 | 支出負担行為として整理する時期 | 支出負担行為の範囲 | 支出負担行為に必要な主な書類 | 摘要 | 兼伝票の可否 | |
1 報酬 2 給料 | 支出決定のとき | 当該給与期間に係る金額 | 支出調書 | ○ | ||
3 職員手当等 | 支出決定のとき | 支出しようとする額 | 支出調書 | ○ | ||
4 共済費 | 支出決定のとき | 支出しようとする額 | 請求書、内訳書 | ○ | ||
5 災害補償費 | 支出決定のとき | 支出しようとする額 | 災害補償決定に関する書類、請求書 | ○ | ||
6 恩給及び退職年金 | 支出決定のとき | 支出しようとする額 | 請求書又は仕様書、退職年金の裁定に関する書類 | ○ | ||
7 報償費 | 支出・交付決定のとき | 支出・交付しようとする額 | 報償に関する書類 | 物品の購入の場合は11節の例による。 | ※1 | |
8 旅費 | 旅行命令のとき 支出決定のとき | 支出しようとする額 | 旅行命令(依頼)票 | ○ | ||
9 交際費 | 支出決定のとき | 支出しようとする額 | 請求書又は支払証明書 | ○ | ||
10 需用費 | 光熱水費 | 支出決定のとき | 支出しようとする額 | 請求書、検針票 | ○ | |
その他 | 契約を締結するとき(請求のあったとき) | 契約金額 (請求のあった額) | 契約書(案)、請書又は見積書(以下「契約書等」という)(請求書)、関係書類 | 単価による契約及び兼伝票で処理するものにあっては、請求のあったときに整理することができる。 | ※1 | |
11 役務費 | 電話料 電報料 郵便料 | 支出決定のとき | 支出しようとする額 | 請求書、申込書の写し | ○ | |
保険料 | 契約を締結するとき(払込みをするとき) | 払込指定金額 | 契約書等、払込請求通知書又は仕訳書 | 継続的に加入しているものについては、払込みをするときに整理することができる。 | ※1 | |
その他 | 契約を締結するとき(請求のあったとき) | 契約金額 (請求のあった額) | 契約書等(請求書)、内訳書 | 単価及び後納による契約にあっては、請求のあったときに整理することができる。 | ※1 | |
12 委託料 | 契約を締結するとき(請求のあったとき、又は支出決定のとき) | 契約金額 (請求のあった額) | 契約書等(請求書)、関係書類 | 単価による契約にあっては、請求のあったときに整理することができる。 | ※1 | |
13 使用料及び賃借料 | 契約を締結するとき(請求のあったとき) | 契約金額 (請求のあった額)、支出しようとする額 | 契約書等(請求書)、システム利用開始を決定した書類、関係書類 | 条例等で金額を規定している場合は見積書を省略することができる。 単価による契約にあっては、請求のあったときに整理することができる。 | ※1 | |
14 工事請負費 | 契約を締結するとき | 契約金額 | 契約書等、関係書類 | |||
15 原材料費 | 契約を締結するとき(請求のあったとき) | 契約金額 (請求のあった額) | 契約書等(請求書)、関係書類 | 単価による契約にあっては、請求のあったときに整理することができる。 | ※1 | |
16 公有財産購入費 | 契約を締結するとき | 契約金額 | 契約書等、関係書類 | |||
17 備品購入費 | 契約を締結するとき | 契約金額 | 契約書等、関係書類 | |||
18 負担金、補助及び交付金 | 指令するとき(請求のあったとき) | 指令する額 (請求のあった額) | 申請書(請求書)、関係書類 | 指令を要しないものにあっては、請求のあったときに整理することができる。 | ※1 | |
19 扶助費 | 支出決定のとき | 支出しようとする額 | 請求書、内訳書 | ※1 | ||
20 貸付金 | 貸付決定のとき (支出決定のとき) | 貸付けを要する額 (支出しようとする額) | 申請書、契約書(案)貸付決定に関する通知書(内訳書) | 月額で貸付けるものにあっては( )内によることができる。 | ||
21 補償、補填及び賠償金 | 補償、補填及び賠償するとき | 補償、補填及び賠償を要する額 | 補償、補填及び賠償に関する書類、判決書謄本 | |||
22 償還金、利子及び割引料 | 支出決定のとき | 支出しようとする額 | 内訳書、請求書 | ○ | ||
23 投資及び出資金 | 出資又は払込決定のとき | 出資又は払込を要する額 | 出資又は払込に関する書類、申請書 | ※1 | ||
24 積立金 | 支出決定のとき | 支出しようとする額 | ○ | |||
25 寄附金 | 支出決定のとき | 支出しようとする額 | 申請書 | ○ | ||
26 公課費 | 支出決定のとき | 支出しようとする額 | 公課令書、申告書の写し | ○ | ||
27 繰出金 | 支出決定のとき | 支出しようとする額 | ○ | |||
兼伝票整理詳細(上記の「兼伝票の可否」によるもののほか、「支出負担行為兼支出命令書」により処理できるもの) | ||||||
7 報償費 | 10需用費消耗品費の例によるもの、謝金として交付するもの | |||||
10 需用費 | 電気、ガス又は水道の供給を受ける契約に基づき支払をするもの | |||||
消耗品費のうち書籍、定期刊行物、追録、及び1件当たりの請求金額が10万円を超えない消耗品 | ||||||
燃料費 | ||||||
食糧費、賄材料費及び医薬材料費のうちあらかじめ金額を確定することが困難なもの及び金額が1万円を超えないもの | ||||||
印刷製本費のうち写真の現像料及び焼き付け料並びに金額が1万円を超えないもの | ||||||
修繕料のうち車体検査にかかる経費及び金額が10万円を超えないもの | ||||||
単価契約のもの | ||||||
11 役務費 | 手数料のうちし尿手数料、車体検査及び維持に係る手数料、郵便振替手数料、口座振替手数料、医療保険に係る診療報酬審査支払手数料、主治医意見書文書作成料、職員の健康診断に係る手数料及びこれらに準ずるもの並びに金額が1万円を超えないもの | |||||
保険料のうち継続的に加入しているもの | ||||||
単価契約及び後納契約によるもの | ||||||
収入印紙、証紙類 | ||||||
継続的に利用しているシステムに伴う手数料 | ||||||
12 委託料 | 児童福祉法、身体障害者福祉法、精神保健及び精神障害者福祉に関する法律(昭和25年法律第123号)、生活保護法、知的障害者福祉法及び高齢者の医療の確保に関する法律に基づく医療、入所等に係るもの、母子保健法、高齢者の医療の確保に関する法律、感染症法、予防接種法並びにこれらに準ずるもの | |||||
単価契約及び後納契約によるもの | ||||||
シルバー人材センターに委託する作業で単価が定められているもの | ||||||
13 使用料及び賃借料 | 土地・建物・工作物・電柱のうち継続的賃借料 | |||||
自動車借上料のうちタクシー借上料 | ||||||
テレビ受信料、有線放送使用料並びに下水道使用料及びこれらに準ずるもの | ||||||
単価契約及び後納契約のもの並びに金額が1万円を超えないもの | ||||||
継続的に利用しているシステムのうち、あらかじめ金額を確定することが困難で、かつ約款等で料金形態が定められているもの | ||||||
15 原材料費 | 単価契約のもの及び金額が10万円を超えないもの | |||||
18 負担金、補助及び交付金 | 国民健康保険事業会計における保険給付費、介護保険事業会計における保険給付費及びこれらに準ずるもの | |||||
指令を要しないもの | ||||||
19 扶助費 | 行旅病人及行旅死亡人取扱法第15条、児童福祉法第51条、身体障害者福祉法第35条、生活保護法第70条、結核予防法第34条及び第35条、知的障害者福祉法第22条、老人福祉法第21条、母子保健法第20条に基づくもの及び別に定める福祉医療給付費並びにこれらに準ずるもの(上位法令に基づく単独かさ上げ扶助費を含む) | |||||
23 投資及び出資金 | 地方公営企業に対するもの | |||||
資金前渡の方法により支出する経費 | ||||||
その他、市長が特に認めるもの | ||||||
支出負担行為の手続き及び支出命令の手続きを債権者を集合して行うことができる支出事項 | ||||||
節 | 区分 | |||||
報酬 | ||||||
給料 | ||||||
職員手当等 | ||||||
共済費 | ||||||
恩給及び退職年金 | ||||||
報償費 | 物品購入に係る経費以外のもの | |||||
旅費 | ||||||
需用費 | 消耗品費のうち新聞購読料 | |||||
光熱水費 | ||||||
賄材料費 | ||||||
飼料費 | ||||||
その他単価契約によるもの | ||||||
役務費 | 通信運搬費のうち電信電話料 | |||||
手数料のうち、し尿処理手数料、車体検査及び維持に係る手数料、医療保険に係る診療報酬審査支払手数料、主治医意見書文書作成料及びこれらに準ずるもの | ||||||
その他単価契約によるもの | ||||||
委託料 | 児童福祉法、身体障害者福祉法、精神保健及び精神障害者福祉に関する法律、生活保護法、知的障害者福祉法及び老人福祉法に基づく医療、入所等に係るもの、母子保健法、高齢者の医療の確保に関する法律、感染症法、予防接種法並びにこれらに準ずるもの、単価契約によるもの、契約に基づくもののうち定期的に支払うもの | |||||
使用料及び賃借料 | 土地・建物のうち継続的賃借料、テレビ受信料、有線放送使用料 | |||||
原材料費 | 単価契約によるもの | |||||
公有財産購入費 | ||||||
負担金、補助金及び交付金 | ||||||
扶助費 | 物品購入に係る経費以外のもの | |||||
貸付金 | ||||||
補償、補填及び賠償金 | ||||||
償還金、利子及び割引料 | ||||||
その他、市長が特に認めるもの | ||||||
支出負担行為の手続き及び支出命令の手続きを同一の予算科目に限らず債権者を集合して行うことができる支出事項 | ||||||
節 | 区分 | |||||
給料 | ||||||
職員手当等 | ||||||
共済費 | ||||||
報償費 | 物品購入に係る経費以外のもの | |||||
その他、市長が特に認めるもの | ||||||
支出負担行為の手続き及び支出命令の手続きを科目を併合して行うことができる支出事項 | ||||||
節 | 区分 | |||||
給料 | ||||||
職員手当等 | ||||||
共済費 | ||||||
報償費 | 物品購入に係る経費以外のもの | |||||
需用費 | 光熱水費、燃料費及び複合施設に係る支出事項 同一会計、同一所属計上予算で同一債権者から同時購入する物品代金等、コピーパフォーマンス料 | |||||
需用費、役務費 | 車両の定期点検手数料並びに点検に伴う修繕料 | |||||
役務費 | 電信電話料、回線使用料、後納郵便料、通信運搬費、保険料、し尿処理手数料、職員の健康診断に係る手数料及びこれらに準ずるもの、口座振替手数料 | |||||
委託料 | 施設維持管理業務委託 | |||||
使用料及び賃借料 | 下水道使用料、リース料、テレビ受信料 | |||||
原材料費 | 同一会計、同一所属計上予算で同一債権者から同時購入する物品代金等 | |||||
償還金利子及び割引料 | 長期債償還元金及び利子 | |||||
負担金補助及び交付金 | 高齢者の医療の確保に関する法律、国民健康保険法に基づく拠出金医療給付費(伴う手数料を含む)、各種負担金 | |||||
扶助費(伴う手数料を含む) | ||||||
選挙事務に関するもの(ただし、委託料、使用料及び賃借料に限る) | ||||||
その他、市長が特に認めるもの | ||||||
備考
1 支出決定のとき、又は請求のあったときをもって整理時期とする支出負担行為で、これに基づいて出納整理期間中に支出すべき経費に係るものについては、当該支出の出納整理期間中において当該支出の決定に先立って整理することができるものとする。
2 継続費又は債務負担行為に基づく支出負担行為済のものの歳出予算に基づく支出負担行為として整理する時期は、当該経費の支出決定のときとする。この場合において、当該支出負担行為の内容となる書類には、継続費又は債務負担行為に基づく支出負担行為済であることを明示するものとする。
3 兼伝票の可否欄に「○」印のあるものは、「支出負担行為兼支出命令書」により処理できることとし、同欄に「※1」とあるものは、兼伝票整理詳細の項に規定するものについてのみ、「支出負担行為兼支出命令書」で処理できることとする。
また、災害対応等、緊急を要する経費についても、例外的に兼伝票を認めることとする。
別表第3(第54条関係)
支出負担行為整理区分(乙)
区分 | 支出負担行為として整理する時期 | 支出負担行為の範囲 | 支出負担行為に必要な主な書類 | 摘要 |
1 資金前渡 | 資金前渡をするとき | 資金前渡を要する額 | 請求書、内訳書、支給調書 | |
2 繰替払 | 繰替払の補てんをしようとするとき | 繰替払した額 | 繰替払に関する書類 | |
3 過年度支出 | 過年度支出をしようとするとき | 過年度支出を要する額 | 過年度支出を証する書類 | 支出負担行為書には過年度支出である旨の表示をするものとする。 |
4 過誤払金等の戻入 | 現金の戻入通知があったとき(現金の戻入があったとき) | 戻入する額 | 内訳書 | 翌年度の5月31日以前に現金の戻入がありその通知が6月1日以降にあった場合は、( )内によることができる。 |
5 債務負担行為 | 債務負担行為を行おうとするとき | 債務負担行為の額 | 契約書 | |
6 継続費 | 契約を締結するとき | 契約金額 | 契約書 |
備考 支出負担行為に必要な書類は、この表に定める主な書類のほか、別表第2に定めるところによる関係書類を添付するものとする。
別表第4(第200条関係)
(その1) 公有財産区分種目表
区分 | 分類 | 種目 | 数量 単位 | 摘要 |
土地 | 行政財産 | 敷地 | 平方メートル | 単位以下2位まで記載し、以下切り捨てる。 |
宅地 | 〃 | 〃 | ||
河岸地 | 〃 | 〃 | ||
耕地 | 〃 | 〃 | ||
山林 | 〃 | 〃 | ||
普通財産 | 原野 | 〃 | 〃 | |
池沼 | 〃 | 〃 | ||
埋立地 | 〃 | 〃 | ||
雑種地 | 〃 | 〃 | ||
その他 | 〃 | 〃 | ||
建物 | 行政財産及び普通財産 | 事務所建 | 〃 | 庁舎、学校等の主な建物。単位以下2位まで記載し、以下切り捨てる。 |
住宅建 | 〃 | 寄宿舎、職員住宅等の主な建物。単位以下2位まで記載し、以下切り捨てる。 | ||
工場建 | 〃 | 作業場等の建物。単位以下2位まで記載し、以下切り捨てる。 | ||
倉庫建 | 〃 | 上屋を含む。単位以下2位まで記載し、以下切り捨てる。 | ||
雑屋建 | 〃 | 物置、廊下、便所、用務員室等他の種目に属しないもの。単位以下2位まで記載し、以下切り捨てる。 | ||
工作物 | 行政財産及び普通財産 | 門 | 個 | 木門、石門等1箇所をもって1個とする。 |
かこい | メートル | さく、へい、生垣等 | ||
水道 | 個 | 屋外に独立して設置された飲用又は散水用の水道施設をいい、各一式をもって1個とする。 | ||
築庭 | 〃 | 一団の築山、置石、泉山、噴水塔等をもって1個とする。ただし、立木と除く。 | ||
池井 | 〃 | 人工を加えた池沼、養魚池、井戸等をいい、各1箇所をもって1個とする。 | ||
貯水池 | 〃 | 貯水池、ろ過池、沈でん池、プール等をいい、各1箇所をもって1個とする。 | ||
貯そう | 〃 | 水そう、貯油そう(ガソリンスタンドを含む。)、ガスタンク、薬品タンク等をいい、各1箇所をもって1個とする。 | ||
浄化そう | 〃 | 浄化そう、汚水浄化そう等をいい、各1箇所をもって1個とする。 | ||
消火装置 | 〃 | 消火栓、火災警報装置、火災報知機等をいい、各一式をもって1個とする。 | ||
鉄塔やぐら | 〃 | 広告塔、警報塔、望楼等 | ||
焼却炉 | 〃 |
| ||
橋りょう | 〃 | さん橋、浮さん橋及び陸橋を含む。 | ||
岸壁 | メートル | 防水壁及び防砂堤を含む。 | ||
防波堤 | 〃 |
| ||
堤防 | 〃 |
| ||
水門 | 個 | 暗きょを含む。 | ||
水路 | キロメートル又はメートル |
| ||
トンネル | 〃 |
| ||
軌道 | 〃 |
| ||
索道 | 〃 |
| ||
電柱 | 本 | 電力線路を含む。 | ||
ドック | 基 | 浮ドックを含む。 | ||
作業装置 | 式 | 土地又は建物と一体のものとして設置されたもの | ||
汚物処理装置 | 〃 | 汚物処理装置、ふん尿処理装置、じんかい処理装置(煙突、煙道を含む。)等 | ||
浄水配水装置 | 〃 | 量水装置、取水装置、配水装置等 | ||
管きょ | キロメートル又はメートル | 水道、下水道の管きょを含む。 | ||
物置場 | 個 |
| ||
碑塔 | 〃 |
| ||
照明装置 | 〃 | 屋外に設置された電灯、水銀灯等をいい、設備一式をもって1個とする。 | ||
諸標 | 〃 | 浮標、立標等をいい、各一式をもって1個とする。 | ||
雑工作物 | 〃 | 他の種目に区分し難いもの | ||
立木 | 行政財産及び普通財産 | 樹木 | 本 | 庭木その他材積を基準としてその価格を算定し難いもの(苗ほにあるものを除く。) |
立木 | 立方メートル | 材積を基準としてその価格を算定するもの | ||
竹 | 束 |
| ||
船舶 | 行政財産及び普通財産 | 汽船 | 総トン | 電動船その他機関によって推進するもの(作業船を除く。) |
帆船 | 〃 |
| ||
作業船 | 〃 | しゅんせつ船、超重機船 コンクリート混合船等 | ||
雑船 | 〃 |
| ||
用益物権 | 行政財産及び普通財産 | 地上権 | 平方メートル |
|
地役権 | 〃 |
| ||
鉱業権 | 〃 |
| ||
その他 | 〃 |
| ||
無体財産権 | 行政財産及び普通財産 | 特許権 | 件 |
|
著作権 | 〃 |
| ||
商標権 | 〃 |
| ||
実用新案権 | 〃 |
| ||
その他 | 〃 |
| ||
有価証券 | 普通財産 | 株券 | 株 |
|
社債券 | 口(枚) |
| ||
地方債証券 | 〃 |
| ||
国債証券 | 〃 |
| ||
その他 | 〃 |
| ||
出資による権利 | 普通財産 | 出資による権利 | 〃 |
|
財産の信託の受益権 | 普通財産 | 財産の信託の受益権 | 件 |
|
(その2) 公有財産増減異動事由用語表
増加 | 減少 | 摘要 | ||
事由 | 財産の種類 | 事由 | 財産の種類 | |
買入 | 共通 | 売払 | 共通 |
|
寄附採納 | 同 | 譲与 | 同 |
|
交換 | 同 | 交換 | 同 |
|
|
| 出資 | 同 | 財産を現物出資したとき |
売買契約の解除 | 共通 | 売買契約の解除 | 同 | 売買契約を解除し、又は解除されたとき |
譲与契約の解除 | 同 | 譲与契約の解除 | 同 | 譲与契約を解除し、又は解除されたとき |
引継 | 同 | 引継 | 同 | 用途廃止等により引継ぎをし、又は引継ぎをしたとき |
所管換 | 同 | 所管換 | 同 | 財産管理者の間で財産の所管を移したとき |
登載洩 | 同 | 重複 | 同 |
|
返戻 | 同 | 返還 | 同 | 引継ぎを取り消し、又は引継ぎを取り消されたとき |
誤びゅう訂正 | 同 | 誤びゅう訂正 | 同 |
|
価格改訂 | 同 | 価格改訂 | 同 |
|
埋立 | 土地 |
|
|
|
換地 | 同 | 換地 | 土地 | 区画整理等により換地されたとき(仮換地を含む。) |
実測 | 土地、建物 | 実測 | 土地、建物 |
|
新築 | 建物 |
|
|
|
増築 | 同 |
|
|
|
新設 | 工作物 |
|
|
|
増設 | 同 |
|
|
|
新造 | 船舶 |
|
|
|
改築 | 建物 | 改築 | 建物 | 全部又は一部を取り壊し、主としてその材料を使用して元の位置に作ったとき |
移築 | 同 | 移築 | 同 | 全部又は一部を取り壊し主としてその材料を使用して他の場所に作ったとき |
改設 | 工作物 | 改設 | 工作物 | 全部又は一部を取り壊し主としてその材料を使用して元の位置に作ったとき |
移設 | 同 | 移設 | 同 | 全部又は一部を取り壊し主としてその材料を使用して他の場所に作ったとき |
改造 | 船舶 | 改造 | 船舶 |
|
修繕 | 土地、建物、工作物、船舶 |
|
| 修繕により価格が増加したとき |
|
| 取り壊し | 建物、工作物、船舶 |
|
|
| 物品編入 | 工作物、船舶 | 物品に編入したとき |
|
| 喪失 | 土地、建物、工作物、立木、船舶、地上権、証券等、その他動産 | 陥没、流失、沈没等天災その他の事故により滅失したとき |
復旧 | 土地、建物、工作物、船舶、立木、地上権等 |
|
| 陥没、流失、沈没等天災その他の事故により滅失したものを復旧したとき |
新植 | 立木 | 伐採 | 立木 |
|
移植 | 同 | 移植 | 同 |
|
|
| 盗伐 | 同 |
|
出資 | 出資による権利及び証券等 |
|
| 出資により、出資による権利又は証券等を取得したとき |
設定 | 地上権等 特許権等 | 消滅 | 地上権等 特許権等 |
|
信託 | 財産の信託の受益権 | 信託 | 土地、建物、工作物、立木 |
|
信託取消 | 土地、建物、工作物、立木 | 信託取消 | 財産の信託の受益権 |
|
信託解除 | 同 | 信託解除 | 同 |
|
信託終了 | 同 | 信託終了 | 同 |
|
別表第5(第206条関係)
物品分類表
大分類 | 中分類 | 小分類 | 摘要 |
備品 | 庁用機器類 | 机、台類 いす類 たな、箱類 印章類 事務用器具類 室内用品類 | その性質又は形状を変えることなく比較的長期間使用に耐えるもの及び性質は消耗品に属するものでも標本陳列品として保管するものをいう。 |
管理用機器類 | 照明器具類 音響通信器具類 暖冷房器具類 ちゅう房器具類 清掃防災器具類 雑器具類 寝具類 被服類 | ||
計測、試験機器類 | 計測機械器具類 写真光学機械器具類 試験検査機械器具類 | ||
医療機器類 | 診療器具類 調剤器具類 その他衛生器具類 | ||
農林水産機器類 | 農産器具類 畜産器具類 林産器具類 水産器具類 食品加工器具類 | ||
工業機器類 | 原動機類 電気機械器具類 工作機械器具類 木工機械器具類 荷役機械器具類 | ||
土木機器類 | 工事用機械器具類 | ||
教育機器類 | 一般教学器具類 理化学器具類 保健体育器具類 商業教育器具類 その他の教育器具類 | ||
教養体育用具類 | 楽器類 運動用具類 娯楽用具類 | ||
標本及び見本類 | 標本類 模型類 見本類 | ||
美術工芸品類 | 書跡、絵画類 美術工芸品類 考古品類 | ||
船舶、車両類 | 船舶 自動車 その他の車両類 船車用器具類 | ||
図書 | 事務用図書 閲覧用図書 | ||
消耗品 | 庁用品類 | 一般器具類 事務用品類 用紙・印刷物類 印紙類 雑品類 | 一度の使用でその効用を失うもの及び数会計年度にわたり使用される物品で備品の程度に至らない消耗器材等をいう。 |
管理用品類 | 管理用品類 ちゅう房用品類 寝具、被服類 | ||
計測用品類 | 測定・試験用品類 試薬類 写真用品類 | ||
医療用品類 | 医療用品類 薬品類 | ||
農林水産業用品類 | 肥料類 飼料類 農薬その他消耗品類 | ||
工業用品類 | 機械部品類 工具・工作用品類 | ||
工事用品類 | 土工具類 建築工具類 | ||
教育用品類 | 教材類 | ||
船車用品類 | 船舶用品類 車両用品類 | ||
燃料類 | 燃料類 | ||
食料品類 | 賄材料類 講習用食料品類 贈答用食料品類 | ||
図書類 | 図書類 | ||
動物類 | 実験用動物類 観賞用小動物類 | ||
動物 | 動物 | 獣類 鳥類 魚類 | 消耗品として分類すべき動物以外の動物をいう。 |
生産物 | 農林水産物類 | 農産物類 畜産物類 蚕糸産物類 林産物類 水産物類 その他の生産物類 | 試験、研究、実習、作業等により生産、製作又は採取したものをいう。 |
製(工)作品類 | 木工品類 金属製品類 繊維製品類 加工食品類 その他の製作品類 | ||
原材料品 | 原材料品 | 工事用材料類 生産加工用材料及び原料類 | 工事又は生産のため消耗される材料又は築造物の構成部分となる材料をいう。 |
別表第6(第213条関係)
物品の整理区分
受入 | 払出 | ||
受入区分 | 説明 | 払出区分 | 説明 |
購入 | 購入により受け入れる場合 | 供用 | 職員の使用に供するため払い出す場合 |
受贈 | 贈与を受けたことにより受け入れる場合 | 譲与 | 譲与したことにより払い出す場合 |
借受 | 借り受けたことにより受け入れる場合 | 貸付 | 貸し付けたことにより払い出す場合 |
修繕受 | 修繕又は改造したことにより受け入れる場合 | 修繕渡 | 修繕又は改造をすることにより払い出す場合 |
所管換受 | 所管換えのため受け入れる場合 | 所管換払 | 所管換えのため払い出す場合 |
返納 | 供用の廃止若しくは中止又は貸付物品の返還により受け入れる場合 | 返還 | 借受物品を返還する場合 |
亡失 | 亡失した物品を整理する場合 | ||
生産 | 生産したことにより受け入れる場合 | 消費 | 職員の使用に供するため払い出す場合 |
製作 | 製作したことにより受け入れる場合 | 売払 | 売り払いのために払い出す場合 |
雑件 | 他の受入区分に該当しない場合 | 廃棄 | 廃棄のために払い出す場合 |
雑件 | 他の払出区分に該当しない場合 | ||




































様式第26号 削除









様式第36号 削除



様式第40号 削除
様式第41号 削除






























































































